日本电商常见平台有哪些?分别如何呢?

SaddleBaby由一条可调节的腰带组成,高高地系在您的胸前,并带有脚踝袖口,以固定您孩子的腿。与传统方法相比,该产品将您的孩子(2 至 5 岁)免提放在肩上,更安全、更方便。符合人体工程学的泡沫鞍座为父母和孩子提供额外的舒适感。

此外,SaddleBaby还有背包款,同样的结构下面安装了一个背包:

专利情况
International Registration Number
D725375
Filing Date of the Application
2013-06-10
Date of the international registration
2015-03-31

International Registration Number
D745263
Filing Date of the Application
2014-09-29
Date of the international registration
2015-12-15


除了这两项美国外观专利之外,还注册了全球发明专利。
WO2017024063A2 HANDS-FREE SHOULDER CARRIER FOR CHILDREN




本文公开和描述的装置提供了对现有技术中的缺点的解决方案,并且通过提供用于为占据成人肩部上的座位的儿童提供安全和舒适就座的儿童载具和固定装置来实现上述目标。
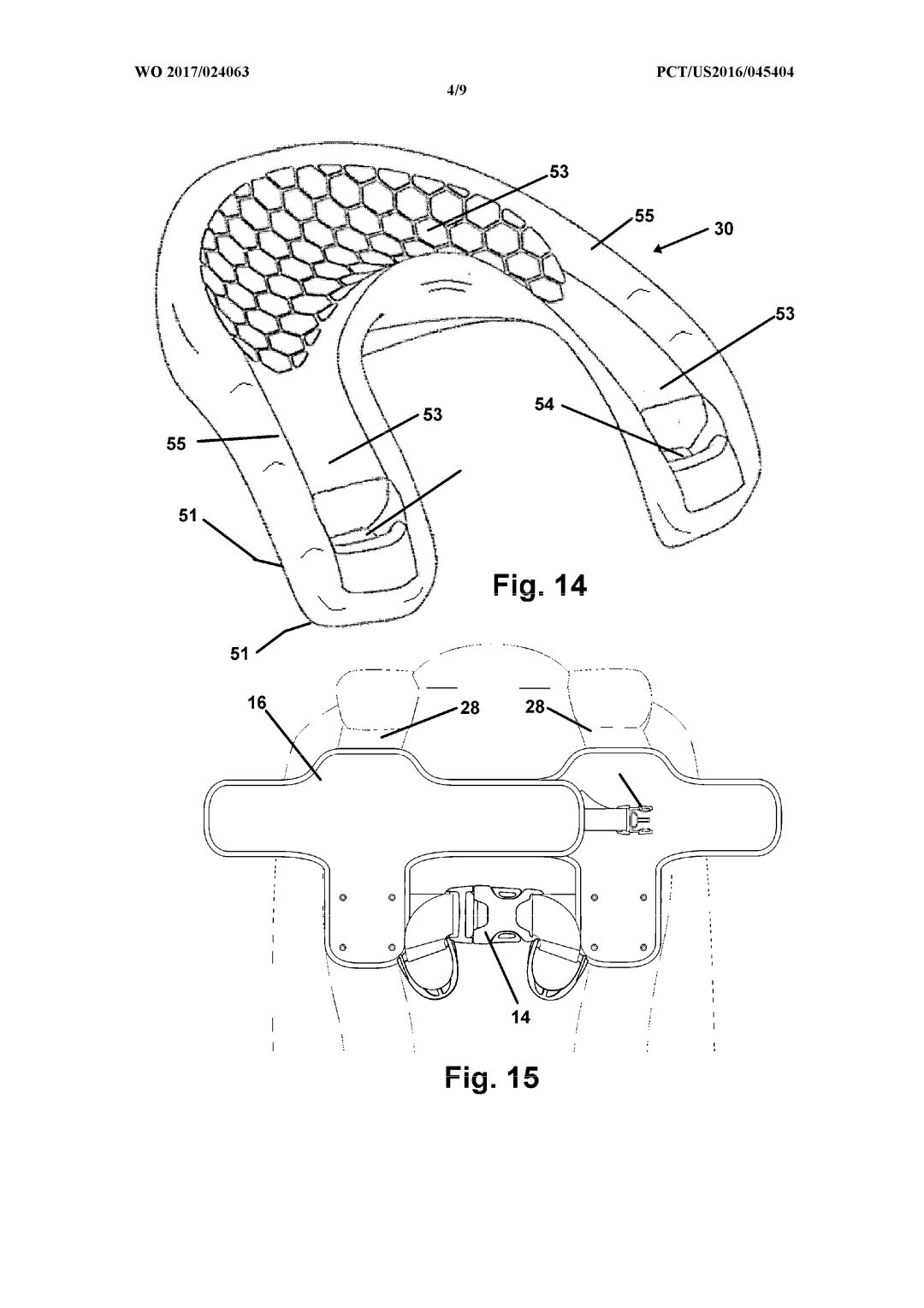
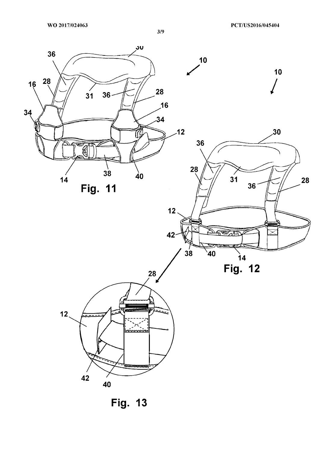
根据一种优选模式,承载器和固定装置包括柔性带构件,该柔性带构件构造成用于在接合时围绕成人用户的上胸部或胸部进行固定定位。形成胸带的柔性构件可以由诸如织物或织物织带的常规材料形成,然而可以由适用于本公开中阐述的目的的任何材料形成。
此外,在提供柔性构件的模式中,胸带可以被加垫或以其他方式缓冲以向成年用户提供额外的舒适感。适应各种胸部尺寸,形成柔性构件接合的带子可以是长度可调节的,并且采用紧固件以允许用户容易地接合装置以及从使用时的位置脱离装置。紧固件的类型可以包括塑料紧固件、卡扣、搭扣、钩环紧固件,以及本领域已知的其他合适的紧固件。
类似结构均有侵权风险!
我们建了一个亚马逊卖家交流群,里面不乏很多大卖家。
现在扫码回复“ 加群 ”,拉你进群。
热门文章
*30分钟更新一次







