还在抱怨没有流量?你该好好分析一下亚马逊流量来源了

做家居的卖家应该都知道这款保鲜膜切割收纳盒,不少卖家担心侵权还会对款式略作修改,前段时间侵权哥也仔细研究过这款产品,当时并未发现相关专利。
直到前两天,有位粉丝跟我说有一款保鲜膜切割收纳盒被投诉侵权,貌似又是国内同行恶搞?
投诉邮件

于是我赶紧查了一下这项专利,发现已经过期!

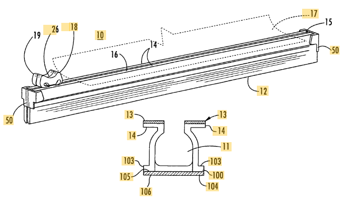
专利内容
本发明涉及一种薄膜切割器组件,其中刀片外壳沿一对导轨双向滑动。刀片外壳容纳刀片。细长的导轨底座与一对导轨连接或成一体。导轨由提供粘附特性的材料制成,以将薄膜固定在导轨上并在切割之前、期间和之后将薄膜保持在平坦位置。可以将双面胶带施加到细长轨道底座的表面,该表面适用于将细长轨道底座附接到膜盒。

大体上来看的确就是竹盒上的切割刀片部分:

即使如此,已过期的专利怎么能投诉呢?其次还有2个奇怪的地方。
第一:投诉是以发明人的名义发起的,专利的所有权归属于申请人,并且该专利中途还被转让给另一家公司,这样看来原发明人应该是没有资格发起维权的。


第二:留的邮箱给人的感觉也不是那么正规!使用的是gmail私人邮箱并不是企业邮箱,20220525应该是日期,说明该邮箱是最近注册专门拿来投诉的,总体看来不太符合外国人投诉的习惯,是发明人本人发起的?还是被别人冒用了名义?就不得而知了。
据卖家反馈,他们的产品已经被多次投诉,其中包括2次独立站版权投诉,中途不断更换联系邮箱,越看越像同行恶搞!
那么要说的重点来了,遇到这种情况该从哪些角度去申诉呢?侵权哥提供几个思路。
1、既然是已经过期的专利,可以去专利局网站查询官方的证明文件,用来申诉;
2、发明人并非专利的所有人,一般情况下应该是无权投诉的。可以联系对方或者联系亚马逊确认其是否得到权利人的授权;
3、虽然投诉前亚马逊会对投诉人的身份进行初步确认,但不排除有被冒用名义来投诉的情况。可以联系对方或者联系亚马逊请求确认对方的身份信息。
亚马逊的侵权投诉机制也太多bug了,最后还是那句话,君子爱财取之有道,愿跨境再无恶搞。
我们建了一个亚马逊卖家交流群,里面不乏很多大卖家。
现在扫码回复“ 加群 ”,拉你进群。
热门文章
*30分钟更新一次







