4 个最佳的 SEO 案例研究(上)


关于鸡尾酒烟熏盖这款产品,今天有粉丝反映在美国站也收到专利侵权投诉,专利信息如下:

International Registration Number
D944594
Filing Date of the Application
2020-11-20
Date of the international registration
2022-03-01
Name and address of the holder(s)
[Applicant] Soak Limited (Sandbach, GB)
今年3月1日被一家英国公司Soak Limited注册完成,如今投诉也就罢了,然而最可气的是对方投诉后又发邮件给卖家,声称支付赔偿金后可以撤诉,卖家支付后不仅未被撤诉反而被要求下架另一款形状不同的烟熏盖,否则就告到法院去!

所以,如果还有其他卖家收到这家公司的索赔信,千万不要继续支付赔偿金了!
除了这项外观专利,该公司还申请了一项美国发明专利:
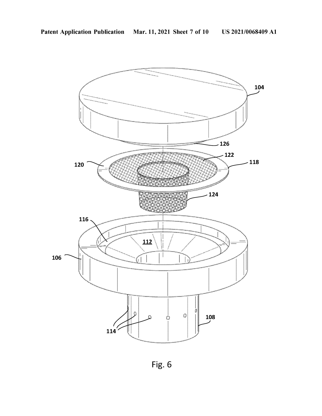
US2021068409A1 烟味赋予饮料和食品的装置和方法


公开了一种用于将烟熏风味赋予饮料和食品的烟熏装置,该烟熏装置可以包括具有至少一个限定第一端的壁和一个具有限定第二端的开口的底板的基部,能够定位在基部第一端上方的盖,从而限定封闭腔,以及导管部分,该导管部分在第一端限定开放通道并在第二端封闭,第一端连接到基底地板开口的周边,形成从封闭腔到通道的通道。还公开了一种使用烟熏装置将烟熏风味赋予饮料和食品的方法。
不过该专利目前还未注册完成,因此对方是无法去投诉不同形状的烟熏盖的。粉丝反馈的确也收到这项发明专利的投诉但并未投诉成功!

最后我们来汇总一下烟熏盖这款产品的侵权风险。
1、美国站有外观专利,发明专利尚未注册完成,因此只要改变形状的话在短期内还可以销售;

美国专利款式
2、欧盟、英国已注册外观,以下款式不可以销售

欧盟、英国专利款式
我们建了一个亚马逊卖家交流群,里面不乏很多大卖家。
现在扫码回复“ 加群 ”,拉你进群。
热门文章
*30分钟更新一次







