2022意大利电商市值将达340亿欧元!哪些品类会”走红“?


今日被投诉产品:魔术刮刀无刷头扫把
侵权平台及站点:亚马逊美国站
侵权投诉类型:专利侵权
侵权邮件:
Infringement type: Patent Patent: 11,219,348 Complaint ID: 1011558220 |
须 知 :
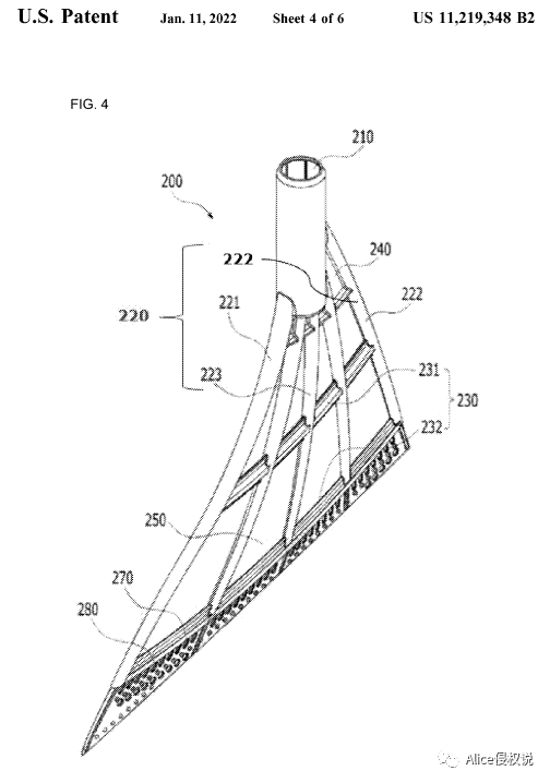
| 被投诉产品 | 美国发明专利11219348专利图示 |
| ![]() |
但是对于本次美国专利投诉,ALice另一层面也长了见识!原来美国也是可以针对同一款产品,分别两个专利人申请:一个美国发明专利,一个美国外观专利。 因为在这款产品专利检索过程中,Alice早已发现了有同款外观专利存在,在排除同一专利人分别进行两种专利申请以外,我自然而然舍弃了美国发明专利检索,谁知最后就.... 当然,介于这种情况,原先英国早就有先例,但是原因居多也是因为英国外观形式形式审查机制的原因,如目前已知投诉案例侵权产品A,最终该侵权产品是被英国发明专利投诉: 好了,最后让我们回归主题: AU2019400523A1;CA3088368A1;CN111587083A;EP3741282A1;JP2020099680A ;WO2020130243A1 基本没有大平台上架的机会了!美国专利、澳大利亚专利、加拿大专利、欧洲专利,日本专利等等统统覆没! 如还在刊登的,请速速下架!
这样说虽然有点片面,但是事实目前就摆在眼前。美国专利类型 美国发明专利 美国外观专利 美国专利号 US11219348B2 US D951571 美国专利持有人 YANG HYE JUNG Ren; Wenjie 美国申请时间 2020.2.24 2021-06-07 美国专利图 
英国外观 侵权产品A 英国发明 专利号GB686975
申请人:国人
专利号GB2409426B
申请人:
Garry paul nicholls
目前该魔术扫把发明专利,除了有美国发明专利以外,目前还有多个站点专利存在,现公布如下,
我们建了一个亚马逊卖家交流群,里面不乏很多大卖家。
现在扫码回复“ 加群 ”,拉你进群。
热门文章
*30分钟更新一次









