2022Prosper Show亚马逊五大趋势




这些色彩缤纷的半透明瓷砖内部有磁铁,可让您构建您能想到的任何东西!他们经过有趣的测试和孩子的认可,并获得了多项卓越教育奖。在您创造性地探索数学和空间关系时,创建立方体、金字塔和其他几何形状。这也是一个很好的玩具,有助于培养空间、触觉、图案和基本几何技能。包装上包含一些操作示例,一旦你掌握了这些,就等着看你的想象力为你建立了什么!

专利情况
美国外观专利
International Registration Number
D928239
Filing Date of the Application
2021-01-26
Date of the international registration
2021-08-17






没错,一项美国外观设计包含了多个款式的零部件图案,这种专利还是比较少见的。
同样的专利也在欧盟和英国注册:
Design number
008605331-0001-9
Date of the national registration
2021-07-06
Publication Date
2021-10-11

各站点均侵权!
除了这款磁性积木玩具,以上专利公司名下还有一项磁性轨道玩具也需要注意:

专利情况
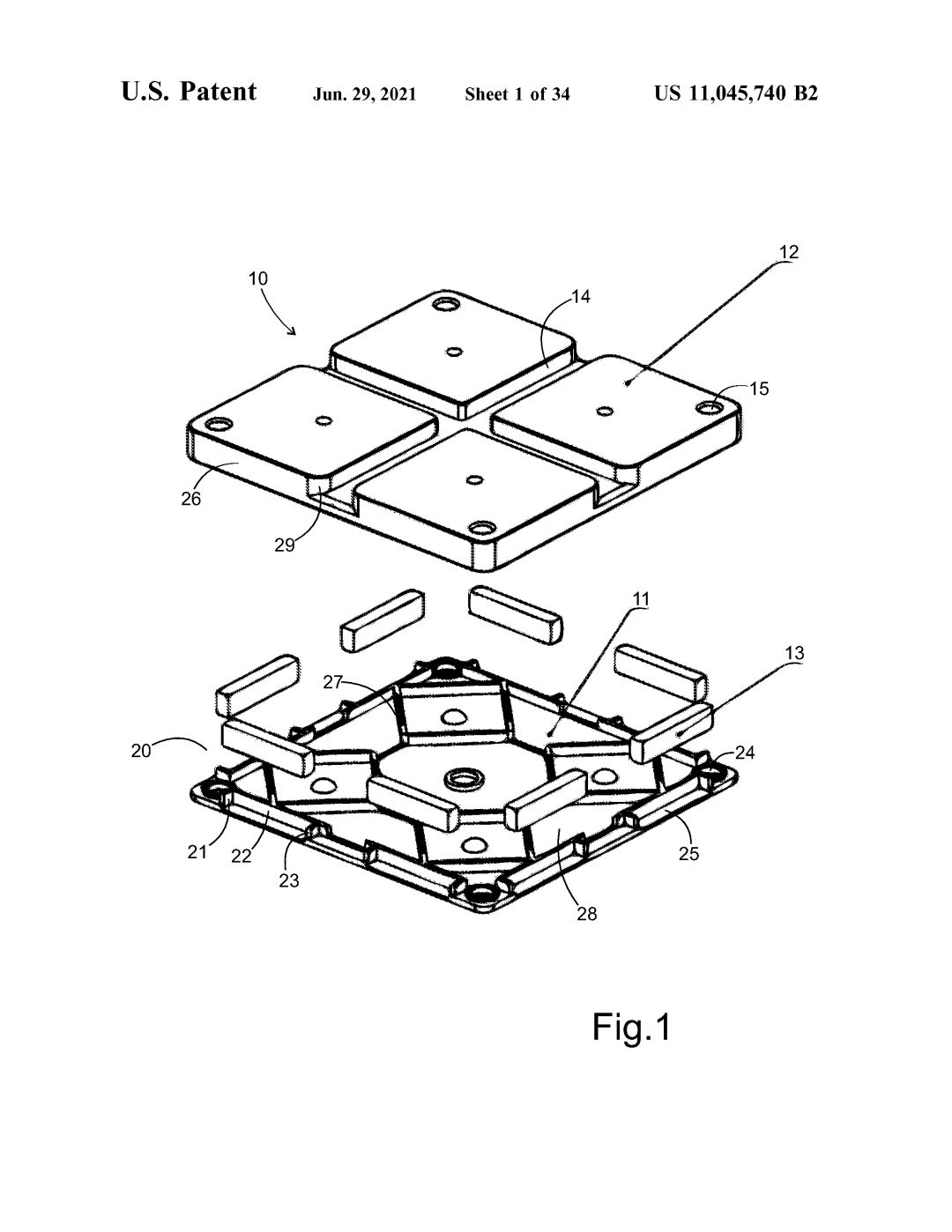
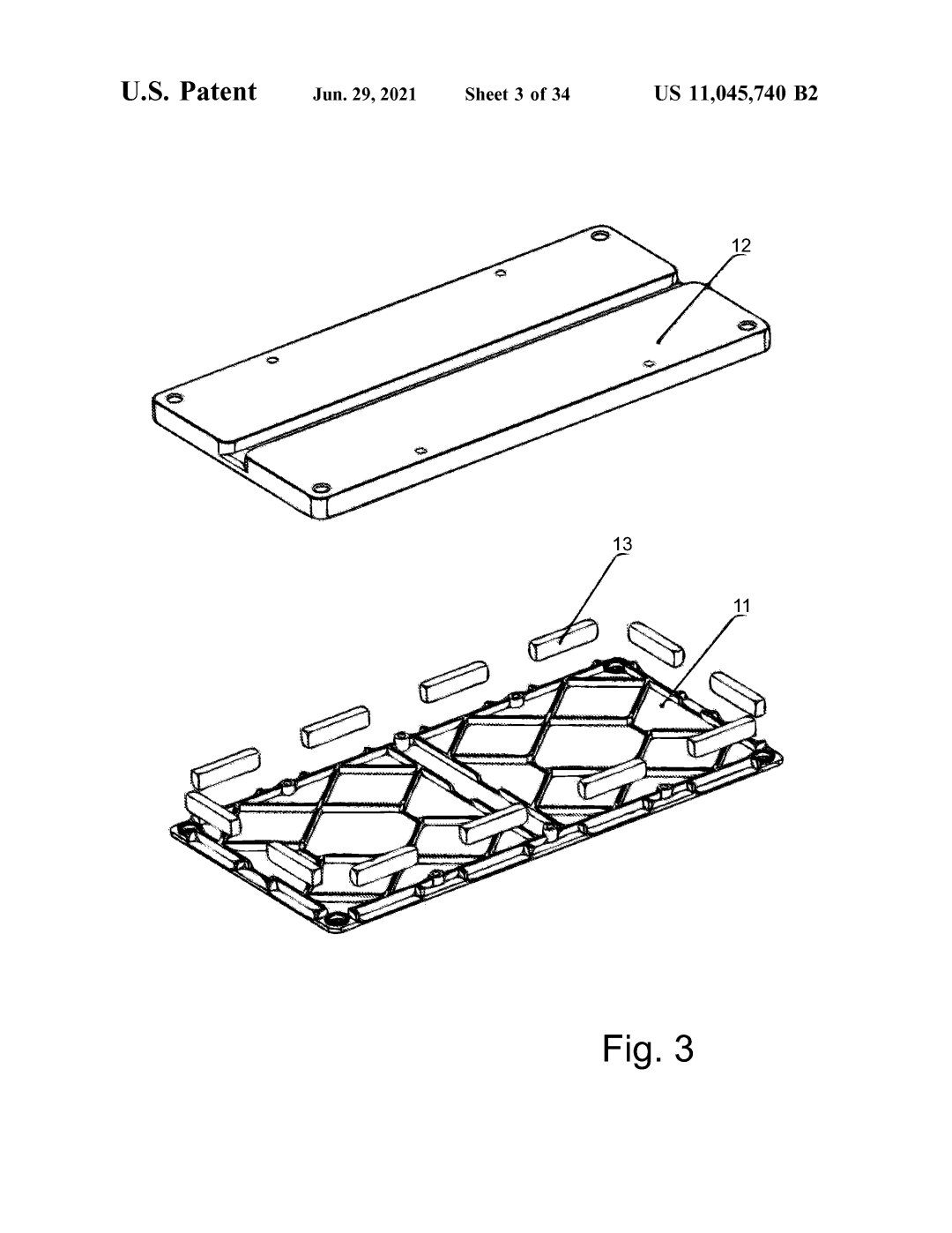
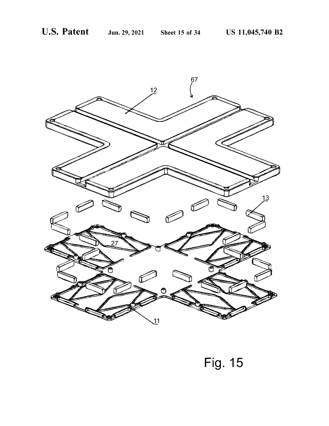
美国发明专利:US11045740B2 赛道玩具套装






作为一组提供的磁块轨道具有作为一组轨道块提供的轨道块,该轨道块选自以下组中的至少一个:基本块;直路段;和弯曲的截面块。轨道块通常是平面的,具有顶侧、底侧和侧壁,侧壁高度小于轨道块的长度。一对永磁体安装在轨道块的侧壁内。这对永磁体对齐以相互吸引。从侧壁上形成的槽漏斗开始,在轨道块上形成第一槽。第一槽形成在一对永磁体之间。一种玩具车具有一对突出的车辆引导件,其构造成接合第一槽。
轨道块由塑料制成并且具有块底部和块底部,块底部框架具有沿着底部框架平坦区域延伸的底部框架肋,以及接合到块底部框架并装配在块底部框架上的块盖。底部框架肋形成磁体固定槽口和底部插座开口。块盖形成与磁体保持槽口配合以保持磁体的侧壁。底框肋形成磁铁壁,即底框左磁铁壁、底框内磁铁壁和底框右磁铁壁。磁体壁形成磁体保持槽口。磁铁保持在磁铁固定槽口内。
这项专利就简单带过,略作了解即可。
我们建了一个亚马逊卖家交流群,里面不乏很多大卖家。
现在扫码回复“ 加群 ”,拉你进群。
热门文章
*30分钟更新一次







