深扒亚马逊买家购物车:多品类价格涨幅显著
Tupperware (Dart Industries Inc.)是一个以其代表产品-塑料食品容器知名于全球的美国家居用品品牌,Tupperware公司开发、制造并将其产品行销于国际。
官网链接:https://www.tupperware.com/
Tupperware可折叠容器

专利号:US2005127074A1(同族:CA2488313A1, EP1544118A1)

专利要点:
本发明涉及一种可折叠容器10,包括:
1.底座12、顶环14和周边固定并在其间延伸的折叠壁16;
2.折叠壁16包括多个向上延伸的周边连续部分,这些部分相对于容器内部交替向外和向内倾斜,彼此折叠并大致同心地容纳在底座和顶环之间;
3.容器可在形成开放内部的展开位置和折叠位置之间调节。
以下小编列举一些其他折叠产品供大家参考:
名称 | 专利号 | 专利权人 | 侵权图样/专利图 |
折叠便携储物架 | US2010326938A1 | IP POWER HOLDINGS LIMITED |
|
折叠宠物喂食容器 | US20170071150A1(同族:CA3010591A1) | LOVING PETS CORPORATION |
|
折叠 旅行杯 | US2015041478A1 | URBAN TUMBLER LLC |
|
折叠凳 | USD873042S1 | SHANGHAI BENXU PRECISION MOLD CO., LTD |
|
折叠漏斗 | JP1470485S | ホーオン株式会社 |
|
折叠椅 | GB6193295S | LANXI YICHAO ELECTRONICS BUSINESS CO LTD |
|
折叠狗碗 | USD853663S1 同族: EU0042010280001S | Xingfu Song |
|
折叠 蒸汽架 | GB6114259S | LINA FAN |
|
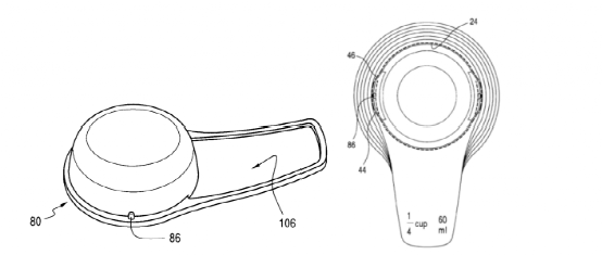
Tupperware嵌套量杯

(1)外观专利号:CA164943S(同族:AU366398S, EU0028369990001S, EP3096115A1)

(2)发明专利号:CA2924859A1(同族:AU2016201871A1, EP3096115A1)
.
权利要点:
1.大量杯包括测量部分24,把手设置在测量部分上,量杯包括上表面和下表面;上表面有两个间隔开的挡块44,46和倾倒口;
2.小量杯也包括测量部分和把手,测量体积小于大量杯的测量体积并可嵌套在其中;
3.小量杯倾倒口位于测量部分上,并且在测量部分的下表面附近设置有止动件86,止动件可与挡块44,46接合,因此使用者可以相对于第一量杯旋转第二量杯,直到止动件与挡块接合,大小量杯的便停止相对转动,实现固定的扇形展开位置。
Tupperware组合柑橘压榨机和去皮机

发明专利号:US20140231343A1(同族:CA2839852A1, EP2767196A1, MX341664B)

技术特征:
本发明涉及一种组合柑橘压榨机和去皮机:
1.柑橘压榨机包括上16、下把手18且两者连接于一个向前的枢轴点20;下把手包括一个杯子,杯子具有至少一个贯穿其中的排水孔;上把手包括一个模具28,该模具的尺寸和位置可在把手一起移动时容纳在杯中,以及与模具相对形成的向上开口凹陷。
2.去皮机包括从主体向下延伸的套环,套环的尺寸设计成可紧密地容纳在凹陷内,磨挫器位于套环周界内,去皮机可以安装在压榨机上。
符合以上特征的即构成侵权。
Tupperware其他产品:
名称 | 产品图 | 专利号 | 专利主图 |
手动立式搅拌机 |
| USD906755S1 |
|
压蒜器 |
| USD844391S1 |
|
削皮刀 |
| USD919386S1 |
|
蔬菜 螺旋机 |
| CA194205S |
|
水杯 |
| USD871847S1 |
|
水杯 |
| USD837059S1 |
|
我们建了一个亚马逊卖家交流群,里面不乏很多大卖家。
现在扫码回复“ 加群 ”,拉你进群。
热门文章
*30分钟更新一次




























