环保也是热卖重点!德国消费者最新购物趋势




Change 是一种独特的四分之一游戏,任何人、任何地方都可以玩。任何人都可以在几分钟内掌握反弹。您可以单独玩,也可以多人一起玩,也可以让整个派对都参与其中,具体取决于您如何安排。
Change 轻巧小巧,可以拿在手中,因此您可以在任何地方玩耍。有十多种玩法,可以将棋子排列成玉米洞、滑雪球、足球、篮球和棒球的微型版本。


专利情况
美国发明专利:US10675529B1 Tabletop game
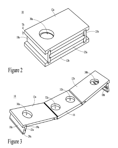
本公开提供了一种用于类似于玉米洞的户外游戏的投币游戏的游戏板。游戏板由利用滑动或互锁接头组合在一起形成多个游戏的部分组成。这些部件滑动在一起形成一个紧凑的包装,不使用时便于存放。本公开的游戏板具有转换成多个基于四分之一/硬币的游戏的能力。游戏板还包括一个垫子,玩家可以在该垫子上在任何表面上弹跳硬币。

长度、宽度和厚度尺寸可以是比给出的示例大的任何适当尺寸。在两个外部部件中的每一个中12一个和12 b、优选一个孔30a 已穿过中心,宽度为 W1方向,矩形平面的上半部分。圆孔30a 具有足够大的直径,以便硬币(例如四分之一)或其他游戏棋子(例如代币或筹码)可以穿过孔。

外板12a 有母联锁接头14 一个和15a 形式为横跨宽度 W 的槽靠近两个较短端的一块木板。互锁接头可以是燕尾接头或滑动接头或其他类型的互锁接头。

诸如硬币40的代币或硬币可以由用户42发射并在发射台25上弹起 a ,如虚线44所示,瞄准游戏板中的一个孔。例如,如果游戏部件未配置为弹跳,则也可能不需要发射垫。

所有部件一起滑入紧凑的装置中,这允许容易存储和携带。
专利分析
1、该游戏板不限制板的数量和每块板长宽高的数值,只需合理即可;
2、每块板含有一个或多个硬币大小的圆形洞口;
3、板的材质不限,每块板之间的链接方式不限;
4、经过折叠可以形成一个非常紧凑的整体,便于储存携带;
5、弹跳垫非必要部件,可有可无。
符合以上特征则存在侵权风险!
我们建了一个亚马逊卖家交流群,里面不乏很多大卖家。
现在扫码回复“ 加群 ”,拉你进群。
热门文章
*30分钟更新一次







