如何利用 myip.ms 找到更多 Shopify 网站?

今日新品侵权分享-
Vent N' Door Caddy车挂薯条器
1 车挂薯条器
Vent N' Door Caddy 是一款多功能支架,可固定在汽车通风口或车门上,用于放置炸薯条、酱汁、眼镜、电话、消毒剂等;

完全迎合美国市场,
根据18年的斯坦福大学调研资料显示,20% 的美国餐点是在车里吃的。
现在更是非常时刻,COVID-19疫情期间,这个数字会预计更高,
消费者现在比以往任何时候都更需要 Vent Caddy!

2 侵权分析
| 原创品牌 | VENT CADDY |
| 独立站官网 | https://cortexproducts.com/vent-n-door-caddy |
| 亚马逊备案店铺 | https://www.amazon.com/Vent-Door-Caddy-Sauce-Combo/dp/B097DX3G42 |
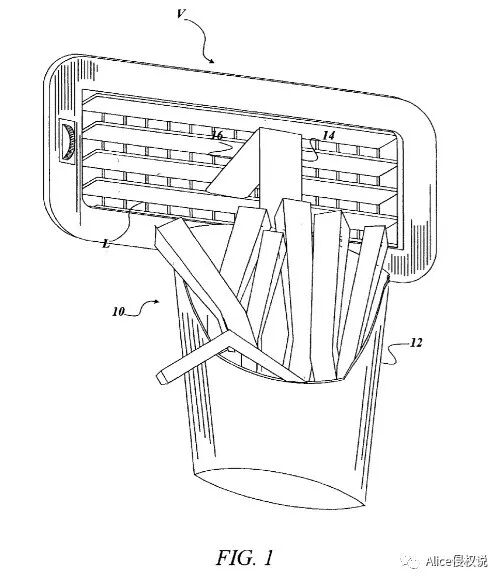
| 美国发明专利 | |
| 专利号 | US2003052146A |
| 专利图 |
|
| 专利说明 | 主要目的是提供一种食物保持器,该保持器可安装在汽车的内表面上。 容器设置有支撑结构,以从汽车的内表面将容器牢固地支撑在驾驶员容易触及的位置。如预期的那样,容器将由汽车通风口的最低百叶窗支撑。一个细长条被粘合固定到容器的后表面并在容器上方延伸。条带具有顶部,该顶部可以移动或打开以形成用于将条带(和容器)固定到百叶窗的钩子。条带的大小使容器将悬挂在通风口下方。 |
以上,就是该产品的所有侵权点,ALice已讲解完毕;
若卖家后期想要上架,请记得规避专利站点!
我们建了一个亚马逊卖家交流群,里面不乏很多大卖家。
现在扫码回复“ 加群 ”,拉你进群。
热门文章
*30分钟更新一次








