跨境新款open-closed齿轮制动,绝对“外国货”!

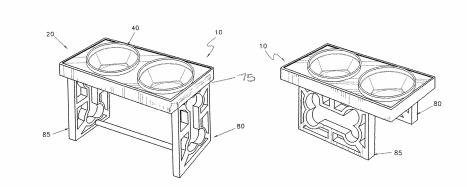
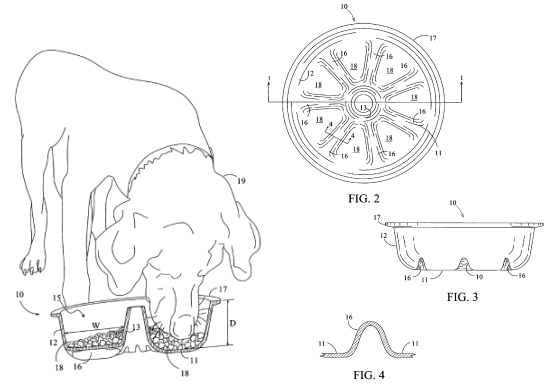
01 宠物用品在亚马逊上一直都很畅销,前几期小编也是专门出了宠物用品专题,今天给大家分享的是宠物碗专利。宠物碗相关各种产品层出不穷,销量都很不错。今天小编在浏览亚马逊 的时候发现,在众多的宠物碗当中具有缓食功效的宠物碗销量更佳,人们的生活水平提高之后不仅仅是增加了肥胖人群,就连养的小宠物也纷纷有了肥胖的困扰。 产品名:pet bowl 这款产品设计比较独特,区别于传统的宠物碗,是中间的凸起槽造型的设计,通过这种设计,宠物不能大口大口的进食,可以减缓宠物吃食的速度,细嚼慢咽,吃久了也就累了,并且有助于消化,保护宠物的饮食健康,也能达到一定的减肥效果。 这款宠物碗在Amazon’s Choice排名第17,目前有将近上万条留评,售价¥8.99。 该商标在美国就注册了多个类别11/18/20/21/26/28/35 02 产品名:dog feeder 狗喂食器或者宠物喂食器 专利号:USD917105 品牌:Vivaglory 这款产品设计了不同深度的宠物碗可供铲屎官们根据宠物的不同进食习惯,进食的东西进行选择,双碗的设计可以一边放置水另一边放置食物,当然如果你有两个可爱的小宠物也可以同时进食,四周的小盘设计可以避免食物撒到地板上,让进食环境更加干净整洁。这款宠物碗的留评也有六千多,销量也是不错的。 03 除此之外,小编还整理了一批已经申请了专利的宠物碗,在家一起来看看,避雷吧。 ①专利号:US7207291 ②专利号:US10701896 ③专利号:USD648492 ④专利号:USD875324 ⑤专利号:USD903209 ⑥专利号:USD943837 这一期的宠物碗专利分享就到这里啦,如果各位小伙伴还有什么想要了解的可以留言或者添加我们的微信,我们会不定时更新哦~
专利号:USOOD940966
品牌:JASGOOD









我们建了一个亚马逊卖家交流群,里面不乏很多大卖家。
现在扫码回复“ 加群 ”,拉你进群。
热门文章
*30分钟更新一次







