最新发案!251家店铺被告,这些高风险产品千万小心!
又有新案件爆出!从起诉到冻结短短二十天就有251家店铺遭殃,值得注意的是本次案件的原告是国人卖家,涉嫌侵权的产品更将无所遁形,卖家赶紧自查下架!
案件详情
Case Details
本次案件侵权涉及名为 wrap dispenser 的美国外观专利,这是一款可轻松裁剪和收纳保鲜膜/铝箔纸的分割器。

图源:亚马逊
该产品由优质竹子制成,且能够适应各种卷筒尺寸,可以像拉链一样轻松的将保鲜膜裁剪下来,以保持保鲜膜均匀平整。
原告已注册的外观专利如下图所示:


案件编号:23-cv-1488
原告品牌: Shenzhen Huagou Electronic Technology Co., Ltd.
专利编号:USD971630S
起诉类型:外观专利侵权
起诉时间:2023/3/10
代理律所:Keener & Associates, P.C.
风险规避:
外观专利侵权的判定原则是:①被控侵权产品包含外观设计专利的独创性部分。②被控侵权产品从整体上与外观设计专利产品相同或相近似。因此,如果卖家所售产品与原告的外观专利高度相似,则很有可能涉嫌侵权。
卖家注意!该案件已冻结店铺超200+家,为避免侵权造成损失,未获得授权的卖家赶紧下架!
除了上诉案件,近期还有不少品牌在严抓侵权,涉及产品品类十分广泛,卖家注意排查规避。
01. ice mold 制冰模具
夏天快到了,制冰模具即将迎来销售旺季!筹备产品的时候别忘了提前筛查侵权风险,例如以下这款在亚马逊上有6000+评价的制冰模具,其品牌所有方已申请多国外观专利,卖家千万别踩雷!

图源:亚马逊
以下示例为美国外观专利:

除此之外,该制冰模具 ice mold 还注册了加拿大外观专利、海牙外观专利、美国发明专利(还有欧洲外观专利,但权利人并不属于该品牌方,而是被他人抢注)。
这款产品知识产权布局做得非常好,一不小心就会踩中侵权雷区,相关卖家千万小心。
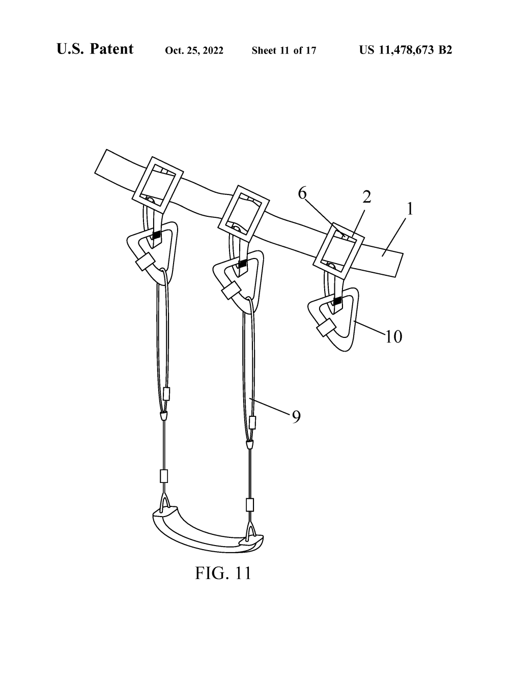
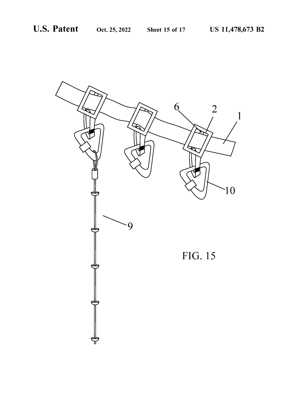
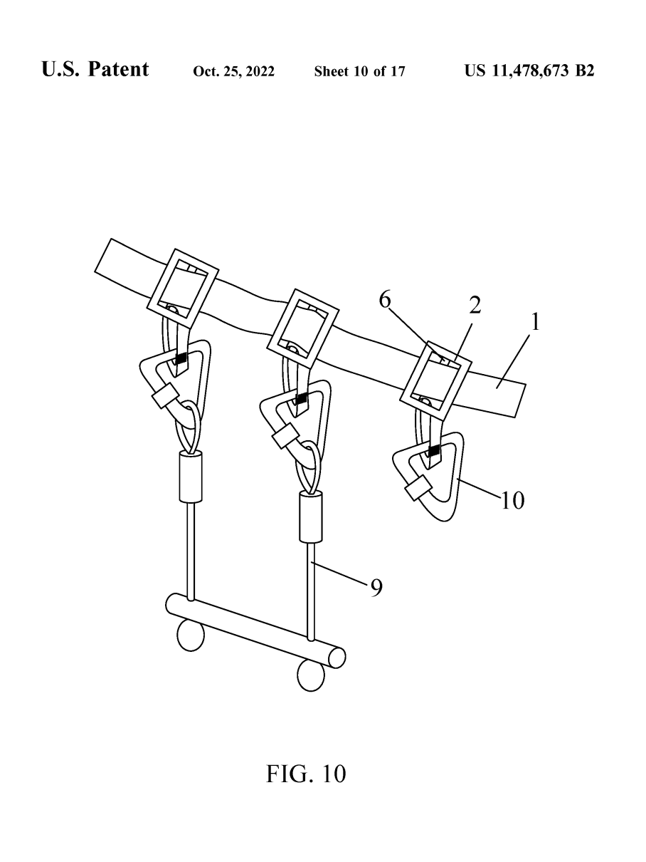
02. 悬挂式训练带
3月28日,Jiangsu Huari Webbing Leather Co., Ltd.向纽约法庭发起维权起诉,维权产品是一款悬挂式训练带产品。

案件详情
起诉时间:2023/3/28
案件编号:23-cv-2605
起诉类型:专利侵权
原告产品:walking flat belt having hanging exercise means 悬挂式训练带
原告品牌:Jiangsu Huari Webbing Leather Co., Ltd.
专利编号:US 11478673 B2






03. Thomas Edward Wood 插画作品
3月27日,知名的幻想艺术插画家 Thomas Edward Wood 提起了维权诉讼,原因是跨境卖家未经授权擅自使用了相关版权作品。
品牌介绍
原告 Thomas Edward Wood 的插画作品在美国和加拿大广受好评,自2005年以来相关幻想艺术品牌已售出数百万件作品,作品图案被广泛运用在服装、编织毯子、海报、打火机等产品上。

案件详情
案件于3月27日发起,由Keith律所代理,案件号23-cv-1886,主要起诉版权侵权。
主要涉及以下5张版权图片:





案件号:23-cv01886
立案时间:2023/3/27
原告品牌:Thomas Edward Wood
起诉类型:版权侵权
代理律所:Keith
举证版权号:VA 2-336-591、VA 2-336-590、VA 2-336-589、VA 2-804-014和VA 2-804-017。
04. TIARA 浴帽
3月28日,TIARA浴帽创始人发起了专利维权。原告在诉状中称只在官网和亚马逊销售US 9398780 B1专利浴帽产品,其他平台的相同浴帽并没有得到原告的授权。同时,原告在起诉侵权申请了TRO临时限制令。

品牌介绍
Zuly致力于改善女性头发护理方式和减少一次性塑料制品的使用,创造了TIARA浴帽。

TIARA浴帽被设计为两种不同的佩戴方式,在淋浴时保护干燥的头发,或者翻转过来戴发膜时佩戴。表带紧贴发际线,但柔软的织物衬里使额头无折痕。
案件详情
原告品牌:SHOWER CAP
原告公司:Tiara Bliss Inc.
案件编号:23-cv-1954
起诉类型:专利侵权
原告律所:Edward L. Bishop
起诉时间:2023/3/28
专利编号:US 9398780 B1


该浴帽已注册美国发明专利,并在欧洲、加拿大和全球知识产权领域拥有同族专利。

建议销售类似或相似的浴帽的卖家及时排查侵权产品并下架对应的产品。
我们建了一个亚马逊卖家交流群,里面不乏很多大卖家。
现在扫码回复“ 加群 ”,拉你进群。
热门文章
*30分钟更新一次







