650家店铺被告,大量listing变狗,这些词不能再用了!
通用词汇被注册成商标太让人难受了!
继“100%”后,又一个常见通用词“one”被注册成商标,导致大批卖家链接被下架,卖家务必尽早排查并修改,避免被亚马逊判定侵权!
01
单词“one”注册成商标
大批listing惨遭下架
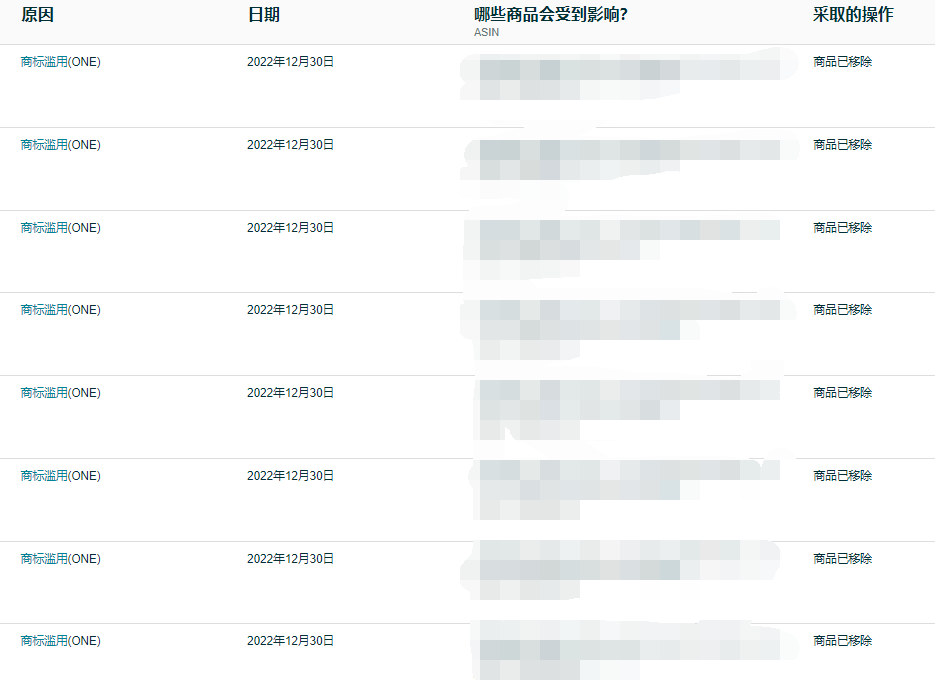
据了解,近期有不少卖家 listing 惨遭下架,涵盖美国、加拿大、英国等多个站点,其原因都是因为使用了单词“one”而被判定为侵权。
一位卖家反映,其由于使用了“one”而导致自己店铺的 listing 变狗了十余条,目前还在不断增加。

图源:知无不言
卖家注意!
通用词“one”已被注册为商标,只要在详情页或 listing 中使用了该单词都有可能被判定为侵权。
如 one of xxxx;from one xxxx 等都算侵权,卖家可以将“one”修改成“1”、“a”、“an”相关单词。
02
650家店铺被告?
这些关键词千万别用!
商标侵权不容小觑,一旦踩坑很容易被亚马逊下架 listing ,严重的时候甚至面临冻结账户资金、封帐号甚至是高额罚款等后果。
去年9月爆发的 HULA HOOP(呼啦圈)维权案件就曾经导致650家店铺被告,且有不少卖家被要求支付高额赔偿金和解。
除此之外,还有不少通用词含有侵权风险,这些关键词千万别用:
已注册商标的通用词:
100%、Tetris(俄罗斯方块)、HULA HOOP(呼啦圈)、Frisbee(飞盘)、Slip'NSlide(水滑道)、silicone(硅胶)等。
已注册商标的产品常用词:
Polo、USB Type-C、USB 2.0 Type-C、VR BOX、ASIN、HD VISION、FOIL SHAVER、Frisbee、Slip'NSlide、Hacky Sack、SUPERBALL、Boogie、SnowBoogie、Stay 'N Play等。
已注册商标的“无品牌”关键词:
N/A、N/B、NO BRAND LOGO、nologo、nobranded、Brandless、Generic等。
已注册的名人商标:
Einstein(爱因斯坦)、SHERLOCK HOLMES(夏洛克·福尔摩斯)、Stan Lee(漫威之父斯坦李)、Muhammad Ali(拳王穆罕默德·阿里)、Meryl Streep(奥斯卡影后)、Sahbabii(美国说唱歌手)等。
已注册商标的大热IP:
Avatar(阿凡达)、Harry Potter(哈利·波特)、STHE HEDGEHOG(刺猬索尼克)、KAWS等。
以下几个常用词虽然还没有注册商标,但它们都有自己的品牌,因此也有侵权风险,卖家注意规避。
3m(3M)、Hacky Sack(沙包)、SUPERBALL(弹力球)、Boogie(冲浪趴板)、SnowBoogie(雪橇)、Stay 'N Play( 室内游戏)等。
03
上架之前如何排查雷区?
一秒快速查商标!
亚马逊对待侵权一向都是严厉打击,一旦发现,分分钟下架 listing 。即使后期可以申诉回来,也十分耗时耗力,影响店铺销售。
我们建了一个亚马逊卖家交流群,里面不乏很多大卖家。
现在扫码回复“ 加群 ”,拉你进群。
热门文章
*30分钟更新一次







