ebay如何修改资料?需要注意什么?

品牌方:jaq jaq bird,今天给大家分享一款容易让人忽视的侵权儿童玩具,看似很普通实则在商标、专利、版权均有严苛的保护。

jaq jaq bird出自美国LE PETIT BLEU,LLC公司,主要活跃在美国、欧洲市场注册了美国欧洲商标。

专利分析:
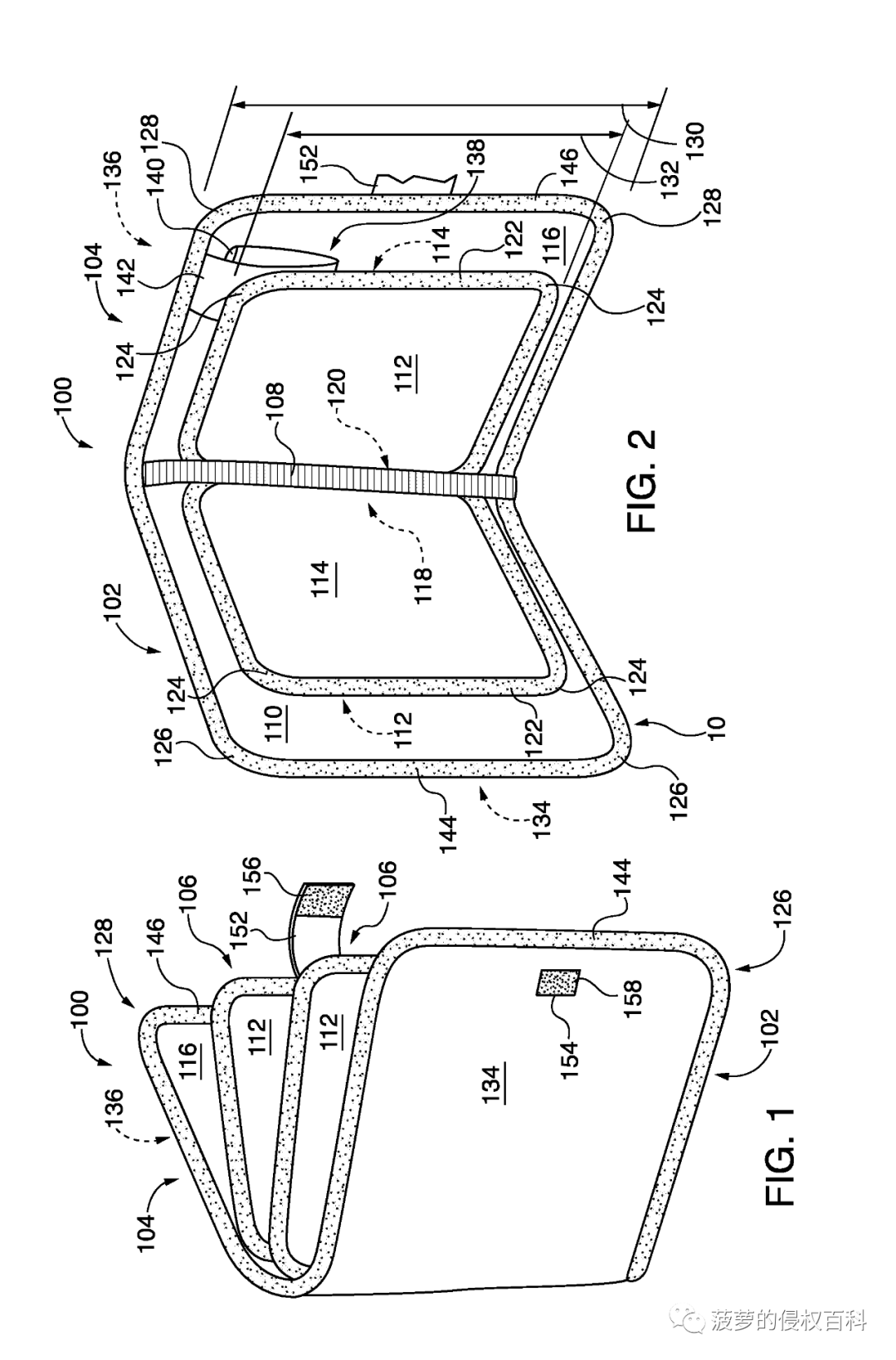
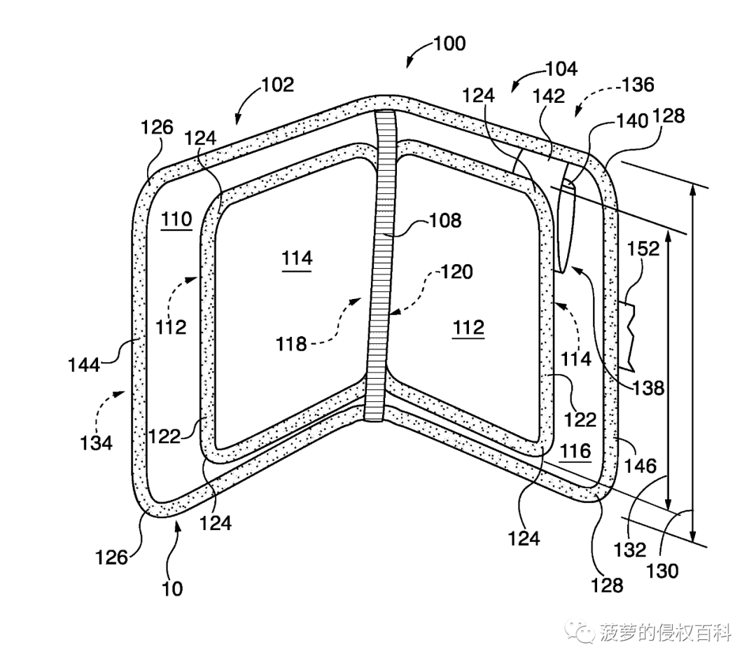
美国发明专利US10065447B2一种用于从书写材料可擦除地接受标记的可擦除书写簿
发明背景:一本可擦除的聚合物分页书写书,适合幼儿使用,具有纹理、灵活、有边框的页面和内部书脊,可将书摊平。页面有圆角。这本书通过钩环标签关闭。页面的轮廓比封面小,以防磨损和变形。折叠式口袋可容纳粉笔和油脂铅笔。可选地,打褶的储藏室位于其中一个盖子上。页面的轮廓比封面小,以防磨损和变形。


美国版权:VA0002012930

总结:这款产品菠萝已经知道ebay AU站点是已经收到版权投诉了,jaq jaq bird这款产品商标、专利、版权于一身大家还是不要去触碰为好,已经上架的产品也是快快下架为妙。
我们建了一个亚马逊卖家交流群,里面不乏很多大卖家。
现在扫码回复“ 加群 ”,拉你进群。
热门文章
*30分钟更新一次







