亚马逊产品遇到差评怎么办?
我们上期介绍了很多个护美妆产品黑五网一狂欢的同时,小心这些美妆个护产品有侵权风险!,毋庸置疑这是一个超极火爆的类目,在亚马逊best seller列表中,Ella发现 Beauty & Personal Care的top 1已经有32万留评。在浏览网页时,一款背部剃毛器吸引了我的注意。

它是这样的

这样的


对于体毛浓密的男士而言,拥有快速方便的刮毛器具是相当必要的。虽然身体大部分区域的毛发都可以自己动手剔除,但在面对背部或其他难以触及的区域,那就只能求助于其他人的帮助了。但有了baKblade 2.0之后,就可以真正做到剃毛不求人。它是一款DIY体毛/背毛剃刀,可以快速、轻松、无痛地剔除体毛。被誉为“身体美发师”。
baKblade 2.0剃刀项目在众筹网站Kickstarter筹集了21.5万美元(约合143万元人民币)的资金,是预期资金的4倍。而后于2016年在官网https://bakblade.com/上正式发售。


经过Ella的检索,这款被称为多毛男性福音的“背部剃毛器”来自一家美国公司DRYFHOUT PROPERTIES LLC,创始人是老板兼设计师Matt Dryfhout。
首先,权利人注册了多个商标(大部分为美标),集中于8类剃须刀相关,品牌商标BaKblade是绝对不能使用的。

权利人的一些图形商标如下




其次是这款产品的专利情况:
根据patentcloud的检索结果,该权利人在全球范围内有18项专利且以美国发明专利为主:
1.欧盟及美国的外观专利
EM003467356-0001(2016-11-17申请)

USD808589S(2016-05-17申请)

2.权利人为该款产品注册多项美国发明专利
手柄US10315322B1(2016-05-17申请)
★


这项专利的权利要求内容如下:
一种使用后剃须刀手柄的方法,包括:(a)获得后剃须刀手柄,其握把端包括一般为S形细长的部件,其主体定义了内侧和外侧,外侧与内侧相对,并且叶片附着在一般为S形细长部件的叶片末端, 并且位于握把端和叶片端之间的中间位置,其中一般为S形细长的杆件在内侧形成一个主体杠杆面,该机身杠杆面位于叶片端和中间之间,一般为S形细长的杆件,刀柄端位于与握把端相对的内侧, 刀片附件配置为用锋利的刀片固定墨盒,使锋利的刀片远离通常为S形细长构件的内侧;(b)握住用户手的手指在握把端,手的拇指指向远离一般S形细长构件的叶片端;(c) 当握把端被手的手指用与使用者前臂相同的手臂握住时,将身体杠杆面压在使用者的前臂上;(d)将一般S形细长的部件定位在用户的腋窝下,到达用户同一手臂腋下的刀片端,以利用位于一般S形细长部件内侧的刀片附件对用户的躯干背面;(e)利用通常S形的细长构件,使用前臂和身体杠杆表面作为相对于握力端的支点,将刀片端压向用户的躯干背面。
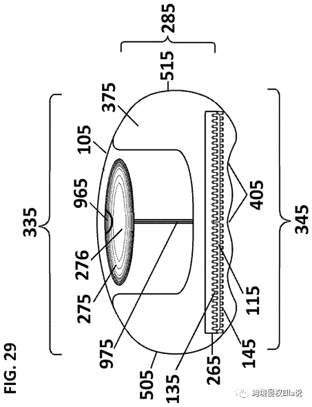
剃须刀US10493643B1(2016-05-17申请) ★


这项专利的权利要求如下
用于剃除用户皮肤上毛发的安全剃须刀,包括:手柄;一个刀片组,包括具有平面的锋利刀片和具有平行于锋利刀片平面侧的主体的护罩;钝的突起;基板结构具有操作耦合到手柄末端的背面,其中基板结构具有附着在刀片组的前表面上,并且在基板结构的前表面上具有钝突起,并且刀片组和钝突起连续间隔开来,在护罩的边缘和顶端之间测得的触觉辨别距离至少约25.4毫米钝突起既有叶片组护罩的边缘,又有钝突起的顶端配置成啮合皮肤。
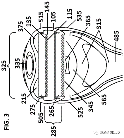
后背剃须刀US10543609B2(2016-05-17申请) ★


这项专利的权利要求如下:
一种用于剃须用户皮肤上的毛发的安全剃须刀,包括:剃须刀柄包括刀片端和位于刀片端对面的手柄;基板结构;具有从基板结构突出的最外端的支撑;和刀片组包括具有锋利边缘和具有前方平面侧和尾随平面侧的切割刀片,以及具有平行于切割刀片前导平面侧的一排齿并且具有从基体结构突出的齿端的梳子;其中,基板结构具有基本平坦的前表面,并且与剃须刀手柄的刀片端耦合,剃须刀手柄与剃须刀手柄之间的梳子和剃须刀手柄具有始终基本垂直于切割刀片锋利边缘的纵轴,其中基材结构既包括刀片组又包括基本平坦的正面支撑基材结构刀片组和支撑体之间间隔一段距离,其中刀片组和支撑体各自从基板结构的实质上平坦的前表面向外延伸,每个高度至少为0.381厘米,沿垂直于基板结构的基板结构的实质平坦前表面向外测量,朝向刀片组梳子的齿端并沿垂直于第二线测量基板结构的实质上平面朝向支撑的最外端。
从发明专利侵权规避的角度看
卖家销售的产品不能同时包含以上权利要求中的全部技术特征。
例如,所销售产品没有包含专利(1)所述的“S型细长杆”技术特征,或者没有包含专利(2)所述的“护翼”的技术特征,或者没有专利(3)所述的“刀片组与支撑体之间相距0.381厘米”的技术特征。当然,更多的专利比对分析需要产品作为参照物。
侵权总结
结合以上信息,Ella建议各位卖家从3个方面着手预防侵权
1.切忌在产品标题、描述、详情页或者产品外包装上出现“baKblade”字样或图形logo。
2.该款背部剃毛器是有专利的保护的,需要重点注意避免侵权。
3.可进行创意改良,设计新型的手柄和剃须刀,打造自家爆款产品,并及时申请专利,保护设计成果。
我们建了一个亚马逊卖家交流群,里面不乏很多大卖家。
现在扫码回复“ 加群 ”,拉你进群。
热门文章
*30分钟更新一次







