亚马逊耗资5亿美元!澳大利亚最大机器人配送中心即将竣工!
木瓜侵权熟悉各类产品的检索方式,宗旨:为跨境电商侵权规避风险,拒绝钓鱼,保障账号的安全,祝跨境大麦!公众号


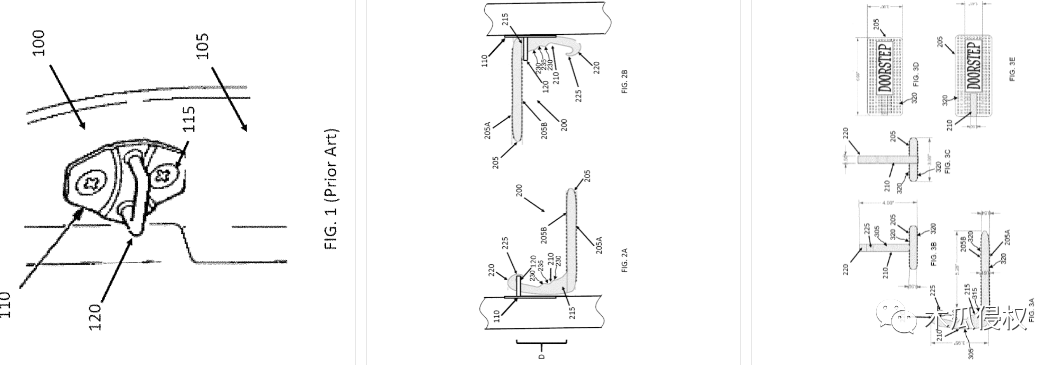
美国发明专利:US11007943B2 申请人:MOKI DOORSTEP CORP 单单搜公司名Rightline Gear, Inc和英文名car doorstep pedals是搜不出来专利。
目前亚马逊官方店铺ratings3909个,产品销量可观。
归纳:上架了该汽车门阶踏板,立马全平台下架(专利产品禁),同时商标Rightline Gear不可碰。
我们建了一个亚马逊卖家交流群,里面不乏很多大卖家。
现在扫码回复“ 加群 ”,拉你进群。
热门文章
*30分钟更新一次







