微软宣布与Shopify合作将其产品引入Bing、Edge和Start
我怎么会侵权
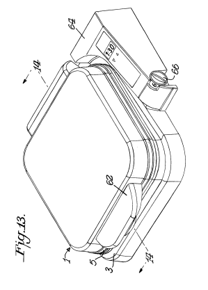
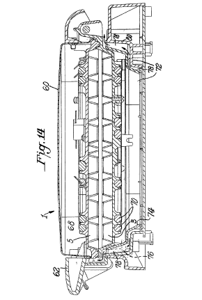
这几类华夫饼机 /已申请专利 BEST Sellers in Home & Kitchen ——Waffle Maker 从无意中侵权别人,到学会保护自己。 投入大,产品强,我们输不起。 这些产品跟风需谨慎 !!! 美国人对早餐的重视程度颇有种“一日之计在于晨”之感,即使是在周末他们也会早早的起来准备早餐。对早餐如此重视的美国人,自然对一件趁手好用的厨具有着巨大需求了。出海君在亚马逊BEST Sellers in Home & Kitchen搜索发现一款华夫饼机位居第一,且出海君对这款 Home & Kitchen热销榜一的华夫饼机进行查询发现其没有专利注册。那是否意味着卖家可以去跟风尝试这件产品呢。出海君觉得尝试有风险跟风还需慎之又慎,一项专利的申请并不是说你申请之后很快就能成功的,其中需要等待的时间漫长,虽然现在这款产品还并未能查询到相关专利但并不意味着没有发起专利申请,一旦申请专利成功,盲目跟风的卖家可能会遭到痛击。目前亚马逊对专利侵权的力度有目共睹,不少卖家只侵权了一次就挂了,因此出海君不建议卖家尝试。 又一批华夫饼机申请专利啦 同类产品中出海君注意到一批华夫饼机已经成功申请专利,且销量都还不错,一起来看看,规避侵权风险。 第一款: 专利号:US D600,065 第二款: 专利号:US D707,075 第三款: 专利号:US 670,530 第四款: 专利号:US D928,562 第五款: 专利号:US D750,415 第六款: 专利号:US 9,386,110 类目榜一分享 另外再给大家分享一件华夫饼以外的有趣的亚马逊产品,也是在BEST Sellers畅销榜位居第一的一款产品——热压机。可以在我们的T恤、背包、帽子等服饰用品上热压出你想要的图案。好玩又时尚。 此款产品在美国和国内均已申请外观及发明专利。 总结:合规化是必然趋势,知识产权问题在亚马逊平台将会越来越受到重视,我们需要时刻注意谨防无意中的侵权导致产生重大损失,当然我们自身的合法权益也绝不容许他们侵犯。
![]()









我们建了一个亚马逊卖家交流群,里面不乏很多大卖家。
现在扫码回复“ 加群 ”,拉你进群。
热门文章
*30分钟更新一次























