推荐一个京东/百度/腾讯等大厂的免费图床工具
极易忽略的侵权风险!看上去简简单单的婴儿床防护网实际上也不简单!




婴儿床防护网的作用是防止手臂和腿卡在婴儿床板条之间,一般采用轻质柔软的透气材料制成,防止婴儿发生窒息风险。
产品可以说是极其简单,就是一块透气的布而已。但如果你觉得产品简单就潜意识的认为它不会侵权的话,那早晚得出事,我们今天刚好就遇到这样一个产品被投诉还关店了。
US20040154099-Crib shield system and other breathable apparatus

通常,婴儿和蹒跚学步的幼儿在他们的婴儿床中睡觉或玩耍时,有意或无意地将他们的四肢伸出床板之间的婴儿床,并且难以将他们拉回婴儿床。如果在孩子睡觉时发生这种情况,伸展的四肢将保持裸露并变冷,最终孩子将被唤醒。
普通的婴儿缓冲垫虽然在一定程度上也能保护婴儿的安全,但它们不够通风并且会阻挡婴儿视线,并且存在使婴儿窒息的风险。
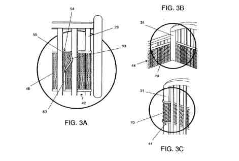
本发明涉及例如保护婴儿或幼儿免受伤害的婴儿床附件和其他透气装置,例如防止或保护婴儿或幼儿在婴儿床中时不进入一个或多个有问题的地方的婴儿床附件。

所述的婴儿床防护系统,其中所述网状材料包括透气的一体式衬垫网状材料,包括前子结构、后子结构和与所述前子结构和所述前子结构集成并在所述前子结构之间延伸的桩子结构,其中所述子结构中的每一个都允许空气充分移动有效地通过。

其中婴儿床包括至少第一侧轨、床头板和脚踏板,其中至少第一侧轨包括多个间隔开的支撑元件,用于限定延伸的内部边界,靠近并围绕设置在婴儿床内的床垫的周边。
这项专利最关键的技术要点只有一个,那就是足够透气通风的网状材质,那么普通却又那么不普通!不过好在这项专利只在美国注册,美国发明专利保护期限为自申请日起20年,该专利申请日为2003.12.16,差不多还有2年就过期,届时就可以自由使用这项设计了。
我们建了一个亚马逊卖家交流群,里面不乏很多大卖家。
现在扫码回复“ 加群 ”,拉你进群。
热门文章
*30分钟更新一次







