亚马逊爆款---手电筒---美国专利侵权预警
【豆腐沥水器】不要看他小众,在亚马逊美国站上也是比较受欢迎的,见部分连接销售截图:

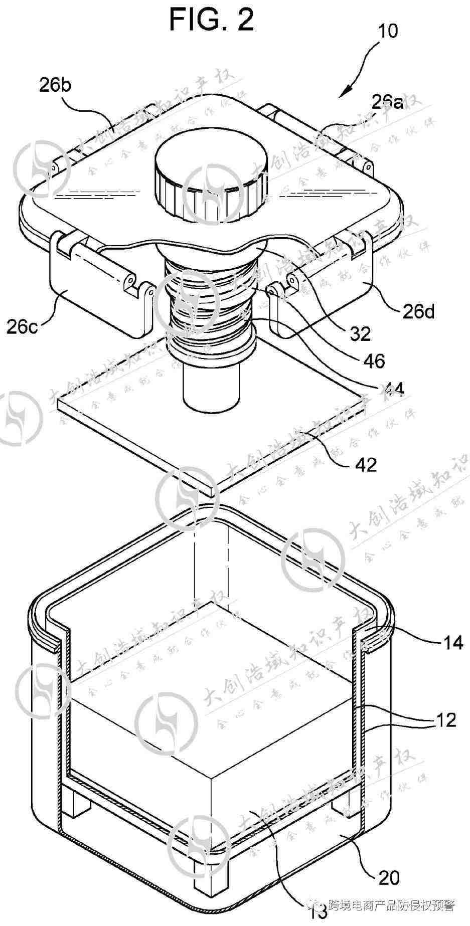
不过,我注意到一款【豆腐沥水器】,它在美国市场是有发明专利的。成品大概如下(说大概如下,是因为根据同样的发明创造,可以制作不同形状外观的产品,但是只要技术要点一样,不管换成其他什么形状,还是侵权的):

这类【豆腐沥水器】的美国发明专利发明点我大概概括如下:

顶部有旋转手柄;
通过双螺纹组成的压缩空间形成对沥水对象进行挤压,详见下方细节图:

分外部容器和内部沥水部件,外部容易承接沥水,内部沥水部件承接沥水对象和过滤水。
看看您的产品,工作原理是不是就是我刚才概况的。如贵司也是在美国市场售卖【豆腐沥水器】的,只是产品工作原理跟这个专利不同,在备大货之前也要做好防侵权排查哈。
我们建了一个亚马逊卖家交流群,里面不乏很多大卖家。
现在扫码回复“ 加群 ”,拉你进群。
热门文章
*30分钟更新一次







