什么是亚马逊In-Stock Head Start试点计划?怎么运作?
前有封号潮,关联潮,现在再加一个“白嫖行为”?
亚马逊的退货政策一直广为卖家诟病,不仅退货时间相当之长,往往还要忍受买家各种无理由的退款和退货。
光退钱不退货?大批卖家疑遭白嫖
近日,有卖家发帖称:亚马逊最近出现大量的直接退款,无法退货,这单就算完成了,那么这样是不是客户都可以白嫖了,这种情况几乎占了九成。
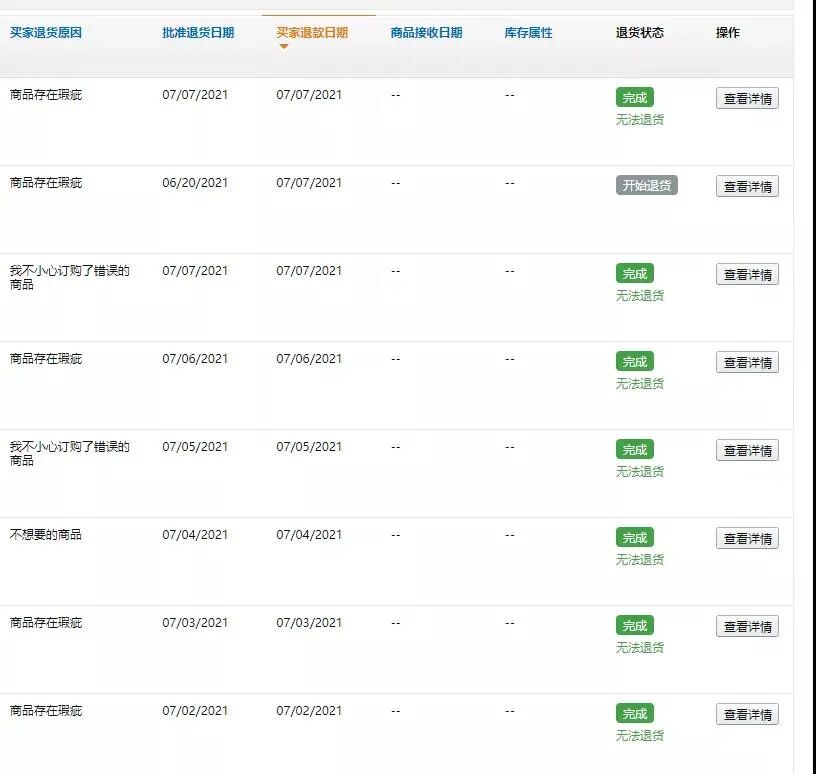
随后,该卖家晒出了其退货记录截图,可以看到,从7月份开始,该卖家的退款订单数量就明显增加,且多数发起退款的订单都是无法退货的。
这就意味着卖家不仅要退还买家货款,还将该商品免费赠与了买家,也就是卖家口中的“白嫖行为。”
从上面的退货管理表中可以看到,买家退货的原因是五花八门。 有“商品存在瑕疵”、“我不小心订购了别的产品”、“不想要的产品”等等原因。而退货状态已经是“完成”的状态,退货状态的补充描述全部都是“无法退货”。 什么意思? 意思就是钱已经退给顾客了,但是货退不回来了! 而回顾此前亚马逊发布的公告,可以看出此次退款不退货事件其实早有端倪。 亚马逊表示,对于廉价商品或超大件商品,这些商品会产生高昂的运输费用,卖家退还商品原价,并让客户保留或捐赠产品,可以给卖家节省成本。 这就意味着,亚马逊将根据这个产品的价值,去判定该产品值不值得退货;如果不值得,将直接对买家“退款不退货”,而这个产品的成本将由卖家自行承担。 亚马逊退货时限之长本就令一众卖家感到无奈,而如今的只退款不退货更是让利润本就单薄的卖家雪上加霜。 背后疑似团队操作

从外媒的渠道了解到,近期美国卖家也有很多向媒体反映遇到大量恶意退款的情况,而调查后发现,竟然有一批人,专门在购物之后利用亚马逊的漏洞恶意退款不退货。

据曝光称,这群人会在下订单收到包裹之后,打电话给亚马逊FBA客服,称自己没有收到货。并利用平台对消费者的保护,以及他们尝试出来的亚马逊退款审批漏洞,获得不退款退货的批准。
这个操作甚至衍生出专业退款团队,普通消费者也可以下单购物之后,请他们出面联系亚马逊客服获得全额退款并保留产品,团队会收取一定产品金额提点作为报酬。
亚马逊修改退款政策带来的漏洞,加上有人恶意利用和6月末的这波退货潮,三重效应叠加造成了7月以来大批卖家出现不退货退款的订单。各位卖家赶紧看看自己有没有这样的订单,有的话赶紧开case处理。
高取消风险大,卖家可以试试这样做
亚马逊不管这个事吗? 当然会有大批的卖家开case给亚马逊客服。 这里提醒大家,有事直接开英文case即可,效率高权限也高,国内亚马逊客服真的是没什么太大的权限,一些基本的操作也都是复制粘贴一些官方套话。 当你开立case以后,亚马逊中文客服是这样回复的: “不知道是不是亚马逊最近更新了规则 ,官方也没知会我们卖家支持团队。我们也收到了不少买家相关的咨询, 因为FBA的售后是由美国的客户服务团队来处理的 ,他们如果觉得买家不需要退货 ,就会直接退款给买家而不要求他们退货。当我们最早收到相关质询的时候, 也觉得很不合理。 现在还有没相关政策更新, 不知道后续会不会有相应的补偿条例。” 中文客服的回复大意就是:不清楚、不了解、感觉不合理,但是我们没办法。 英文客服这边倒是给出了截然不同的回复: 这里英文客服说的很明白,也符合亚马逊的退货政策,那就是60天内如果买家的产品没有退回来,那么你可以找亚马逊申请调查或申请赔偿。 政策是个好政策,但是在实际执行中,成功要回退货赔偿的卖家又有多少呢。 而且这个区间的时间长达60天,也就是说,发生了这样的问题,你要60天之后才能申请赔偿,这么长的时间,又有多少卖家会去记得这个事情呢。 而且还有部分卖家收到了这样的case回复: 为了避免造成过多的损失,卖家们可以提前设置一个最大订购数量,以免一次性被这种买家白嫖走大量商品。如果已经遭遇到了类似的情况,就把订单取消界面截图保存以作证据,多开英文case,直接和美国客服团队进行联系,如果相关政策有更新,那么这些证据的存在将变得至关重要。 另外 因为高取消率还有可能引起 产品被下架甚至账户被停用的问题 所以遇到这类情况的卖家 最好提前准备好POA 所谓POA就是行动计划的意思 当卖家们因为商品问题而被处以禁售时 往往要通过提交POA来恢复账号 在POA中 卖家需要回答三个问题 分别是: 导致问题的根本原因是什么 将来会采取什么措施来解决问题 会用什么措施来避免出现问题 一般只要态度诚恳 在提交POA之后账户一般还是能成功恢复的 当然,以上说的,其实也都是没办法的办法,因为这类问题的源头,并不是出在自己的产品身上,希望亚马逊有点心,早点出台一些合适的政策,既然打击卖家违规行为打击得这么用心,要是对买家的恶意白嫖视而不管,也太说不过去了吧!
1.订单系统中备注“买家无法退货”,亚马逊的政策规定买家需在60天内将商品退回亚马逊库房。
2.您可以通过后台管理亚马逊订单退货报告,查看后续60天内商品是否退回亚马逊库房,如果60天没有退回您可以联系我们进行调查或赔偿。
根据我们的最新退货政策,对于买家未能退货却获得退款的商品,亚马逊将不会进行赔偿,除非退货是由亚马逊必须承担的责任所导致的。


我们建了一个亚马逊卖家交流群,里面不乏很多大卖家。
现在扫码回复“ 加群 ”,拉你进群。
热门文章
*30分钟更新一次







