【分酒器】在亚马逊美国站上的防侵权预警357
今天给大家带来的是保姆式的教程,手把手教你创建OA亚马逊FBA发货计划。
目前亚马逊有两种创建FBA发货计划的方式:新版和旧版,接下来将分别给大家一步步操作和演示。
希望能给新手小伙伴们带来帮助,节约时间,把更多的时间花在选品上~~
01
旧版创建发货计划
1、登陆卖家后台,选择库存,管理库存

2.进入到库存界面,勾选自己这次需要发到亚马逊仓库的所有商品

、
3.选择发/补货
左上角菜单栏,选择发/补货,跳出“您已选择要对2款商品进行“发/货”操作,是否要继续?”,点击是,选择


4.正式进入发货页面

入库计划:
一般选择创建新的入库计划
添加至现有入库计划:一般是当之前已经创建过发货计划,但是货还没有发走,想要加其他SKU发货的时候选择。
发货地址:
这个地址一般默认是公司注册地址,我们做OA套利,需要改成第三方物流商地址。
包装类型:
一般OA都选择混装商品
混装商品(不同SKU商品放在一个箱子里)
原厂包装发货商品(一个箱子只有一个SKU)
最后一步右下角选择返回上一工作流程,这样我们就可以回到旧版发货计划
5.返回到旧版发货,设置数量
上一步中选择返回上一工作流程之后,就会回到旧版发货计划,如下图所示:
商品数量处,填写这次每个SKU要发货的数量,然后点击继续

6.预处理商品
准备指导:
如果没有默认选项,需要点击进去根据不同商品选择其中的一项,以下是准备指导中有的选项,可以根据自己售卖的商品进行选择。如果不是特殊商品,可以选择无需预处理。

预处理方:
选择卖家。然后点击继续
7.为商品贴标
贴标方还是选择卖家,然后继续

8.确认货件
这个页面确认了货要发往哪个仓库,以下可以看到我的商品被分仓了,需要发往两个仓库。
如果想要发到一个仓库,可以在创建发货计划之前,设置合仓服务,这样每次发货都会发到一个仓库,但是亚马逊会收取合仓费用。

9.处理货件
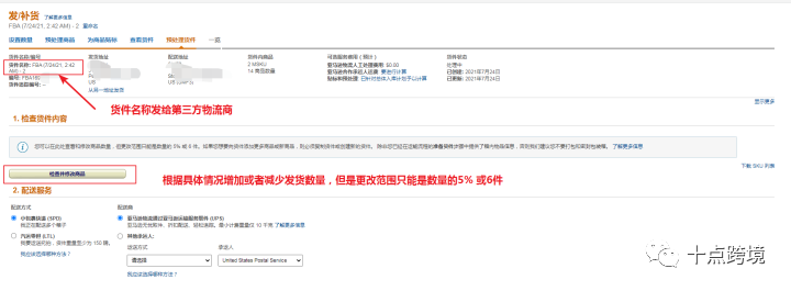
因为产品被分仓了,所以一共是有两个计划,如果确认按照系统分配的数量正常发货,就可以直接复制货件名称给到第三方物流商,剩下的就由他们来处理了。

10.预处理货件
如果我们还需要更改这次发货的数量,可以点击处理货件,进入到以下页面,进行更改。
点击检查并修改商品,可以根据需要增加或减少商品,但是更改的范围只能是数量的5% 或者6件

11.发货计划创建完成
更改好了之后,我们可以将货件名称发送给第三方物流商。接下来就由第三方物流商来帮我们处理了。
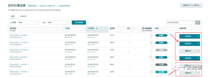
12.如何查看货代是否已经发货
点击库存-管理亚马逊货件,进入亚马逊货件后台

以下图中,显示处理货件,说明还没有安排发货。显示追踪货件,则表示,货已经发走了。

点击追踪货件,选择一览,就能看到货件目前的状态了。
货件活动可以看到具体的处理进度
选择追踪货件,就能看到物流的信息。


以上就是创建旧版发货计划的全部流程
02
新版创建发货计划
接下来给大家介绍新版的发货计划,前面几个步骤是一样的。
1、登陆卖家后台,选择库存,管理库存

2.进入到库存界面

3.选择发/补货


4.正式进入发货页面

入库计划:
选择创建新的入库计划
添加至现有入库计划:一般是当之前已经创建过发货计划,但是货还没有发走,想要加其他SKU发货的时候选择。
发货地址:
这个地址一般默认是公司注册地址,我们做OA套利的话,需要改成第三方物流商地址。
包装类型:
一般OA都选择混装商品
混装商品(不同SKU商品放在一个箱子里)
原厂包装发货商品(一个箱子只有一个SKU)
5.进入新版发货页面
点击继续前往 Send to Amazon,进入到新版发货界面

6.点击 需要预处理及贴标详情
选择预处理的分类,这里要根据你的产品实际情况做选择,比如如果是易碎品,那就要选易碎品,粉末就要选粉末……
商品预处理方和商品贴标方都选择由卖家提供,然后保存

7.填写数量:
预处理及贴标详情确认保存之后,回到 发货界面,填写好数量,点击准备包装

然后点击包装单件商品

8.包装单件商品
选择所有商品都将装入同一包装箱中(这里货比较少,可以选择一个包装箱)
然后点击确认

9.填写箱子的尺寸重量
因为我们不知道具体打包之后箱子的重量和尺寸。到这一步,一般就要交给我们的第三方物流商来处理了。我们可以将工作流程号发给第三方物流商,然后由他们来处理接下来的发货流程。

10.如何查看货代是否已经发货
这个跟旧版发货计划一样
点击库存-管理亚马逊货件,进入亚马逊货件后台

以下图中,显示处理货件,说明还没有安排发货
显示追踪货件,则表示,货已经发走了。

点击追踪货件,选择一览,就能看到货件目前的状态了。
货件活动可以看到具体的处理进度
选择追踪货件,就能看到物流的信息。


总结
1.目前新版旧版都可以发货,大家可以根据自己的习惯以及第三方物流商的要求来创建发货计划。
2.新版有同学说似乎不容易被分仓。旧版即使只有几件也还是会被分仓。所以大家可以试试用新版去发货。
3.如果老是被分仓,可以在后台设置合仓服务,不过合仓服务会收取一定的费用。
我们建了一个亚马逊卖家交流群,里面不乏很多大卖家。
现在扫码回复“ 加群 ”,拉你进群。
热门文章
*30分钟更新一次







