亚马逊新卖家,千万不要再入这些坑了!

Rightline Gear Moki Door Step可以轻松进入车辆的车顶。只需将它钩在每个车门的U形门闩上即可。Moki Door Step可以用来装载货物如:箱子;独木舟,皮艇和SUP;滑雪板和单板滑雪;又或者自行车;甚至用它来帮助清洗车辆的车顶。Moki Door Step为双脚提供了舒适的平台,并允许平衡的站立姿势,避免踩脏汽车座椅,并且无需脚凳或梯子。对于一些高度较大的车辆,Moki Door Step轻而易举地帮助你上下车!



多国注册发明专利:US20180194290;AU2018205352;CA3049121;EP3565740 ;WO2018129504

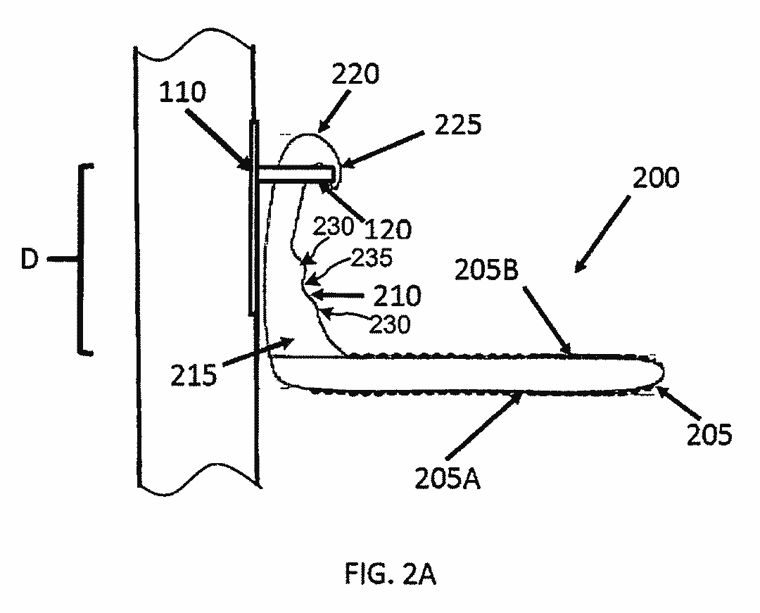
该专利描述了可移除地联接至车辆的门闩元件(例如,U形撞针元件)的踏板装置。踏板装置可包括钩元件,该钩元件使踏板装置能够从车门井中的门闩元件悬挂。踏板装置还可以能够延伸穿过门闩元件,使得踏板装置可以在竖直位置上联接至门闩元件。一种踏板装置可包括一个或多个踏板结构。
目前已收到投诉,所有站点均有侵权风险!
我们建了一个亚马逊卖家交流群,里面不乏很多大卖家。
现在扫码回复“ 加群 ”,拉你进群。
热门文章
*30分钟更新一次







