阿里巴巴国际站义乌锦联中心仓正式开仓

万圣节快来了,按照以往几年的规律,9月份开始,google trends搜索关键词“Halloween”热度就会噌噌的往上涨。

做万圣节产品的卖家注意集合
下面主要列举两款比较常见的产品专利
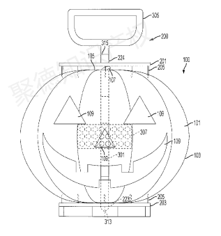
一、南瓜灯




二、面具




我们建了一个亚马逊卖家交流群,里面不乏很多大卖家。
现在扫码回复“ 加群 ”,拉你进群。
热门文章
*30分钟更新一次







