丝域商学院:这是你没见过的shopee8个引流技巧,不看后悔

Finalstraw简介
一次性塑料是一场灾难
美国人平均每人每天使用1.6根吸管
由于吸管非常轻巧,因此经常被吹入下水道,飘落在海洋中,最终危害野生动植物。
塑料吸管不能回收再利用,也不会分解,导致我们的陆地和海洋受到长期污染。
Finalstraw的使命是创建可重复使用的吸管,以减少对塑料的需求。
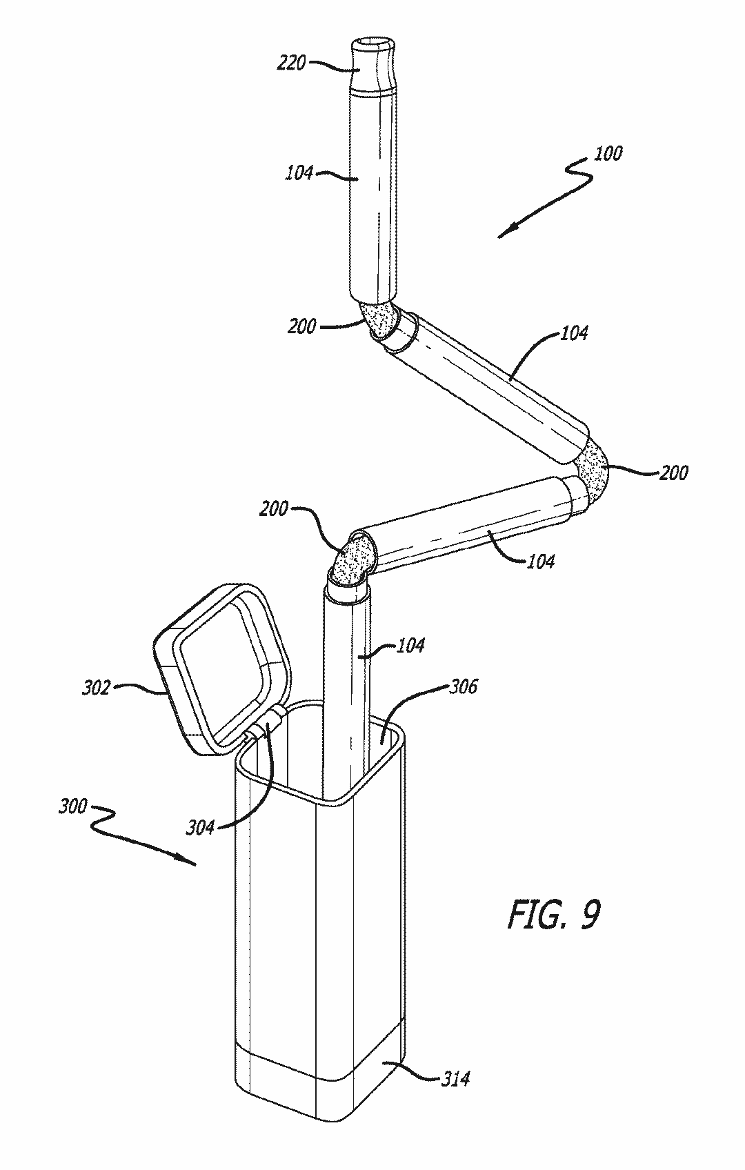
Finalstraw产品专利情况
Finalstraw有硅胶吸管和折叠吸管俩种,并且都具备可重复使用、易于清洁和携带的特点。


专利情况

发明专利WO 2019089085/US20190374055
本发明提供了一种可重复使用的吸管,可折叠成紧凑的结构以用于存储,并易于在存储箱中运输。吸管包括一个刚性的外管和一个柔性的内管,可折叠成紧凑的结构以进行存储。在折叠状态下,可重复使用的吸管在使用时的长度显着减小,约为其延伸长度的一半至四分之一。吸管的外管优选地由多个刚性段形成,用于在用作饮用吸管期间以延伸的构型支撑柔性内部管。提供了一种简单的清洁装置,以在使用后清洁吸管。提供了一种存储盒,以紧凑的形式存储处于折叠状态的吸管并存储清洁装置。

外观专利D853,164/005818200-0001
侵权风险
Finalstraw注册了多个国家的专利,因此各个站点销售折叠吸管均会侵权。此外,Finalstraw已被律所代理,被起诉后会导致账户资金冻结,需格外注意!
我们建了一个亚马逊卖家交流群,里面不乏很多大卖家。
现在扫码回复“ 加群 ”,拉你进群。
热门文章
*30分钟更新一次







