入美快递费用暴涨,英国市场已被占领,中国卖家何去何从

CLIC重新定义了眼镜行业: 两个镜框中间由磁铁连接,能有效解决眼镜掉落的问题。



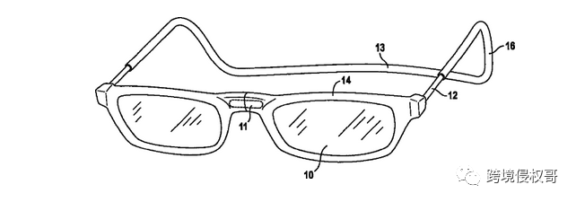
毫无疑问,这么独特的产品必须得有专利:

本眼镜包括一对镜片;一对可释放连接器,其连接到镜片的相应内端;一对边撑,边撑枢转连接到镜片的相应外端,以及被连接在边撑的后端之间的刚性带。带是大致U形,其具有连接到拱形基部的基本上平行腿部,基本上平行腿部被连接到边撑的后端并且在被佩戴时,拱形基部沿着使用者头部的后部延伸。带在其U形基部设置有伸缩式区段,用于选择性地改变拱形基部的长度,用于改变带的基本上平行腿部之间的间距从而针对使用者头部的变化宽度来调节带。镜片的内端通过连接器被可释放地固定到一起。在使用中,镜片彼此分离并且向外枢转,带卷绕在使用者头部的后部周围并且针对尺寸进行调节。于是镜片朝向彼此枢转并且在使用者眼睛的前面被固定到一起。镜片可即刻分离用于容易地佩戴或摘掉眼镜,但是镜片被即刻连接到一起用于固定且精确的配合。
专利注册情况:
AU2010326726
CA2741571
EP2460046
ES2428754
JP2013508774
KR1020120088529
US12629297
WO/2011/068559

我们建了一个亚马逊卖家交流群,里面不乏很多大卖家。
现在扫码回复“ 加群 ”,拉你进群。
热门文章
*30分钟更新一次







