近期,针对源德盛“一体式自拍装置”实用新型专利提出的系列无效宣告请求案引起了业内的广泛关注。为此,本报特邀请专家结合案件中的争议焦点,阐明专利无效宣告程序中相关审查标准与原则,探讨该专利为何“无效不掉”,以期对企业提升专利质量、提高保护水平有所裨益。创造性是一项发明创造能够被授予专利权的实质性条件之一,是专利申请实质审查、专利无效宣告程序、专利行政案件中涉及比例最高的法律问题,因此其审查标准也成为专利申请人或专利权人、法院乃至社会公众最为关注的问题。在审查实践中,由于实用新型专利涉及产品具体结构,在特征对比时难以避免技术方案的具体技术特征之间的对比,若在对比过程中出现孤立具体技术特征、割裂技术方案整体性的情形,仅简单、机械地进行文字对比,会导致事实认定不清、影响审查结论的后果。在“一体式自拍装置”的系列专利无效宣告请求案件中,就充分体现了这一问题,客观准确地认定事实是案件能够得出正确结论的基础。

在“一体式自拍装置”的系列专利无效宣告请求案件中,涉案专利的核心技术内容为“所述载物台上设有一缺口,所述夹紧机构设有一与所述缺口位置相对应的折弯部,所述伸缩杆折叠后可容置于所述缺口及折弯部”,上述内容记载在涉案专利的权利要求2中。该权利要求限定了载物台上的缺口与夹紧机构上的折弯部相对应,二者形成容纳折叠后的伸缩杆的空间,使自拍杆的收纳更节省空间,实现了方便携带的有益效果。在该案的审理过程中,上述折弯部是否被现有技术公开成为双方当事人争议的焦点,下面笔者将从两个方面分析如何对对比文件公开的事实进行认定。

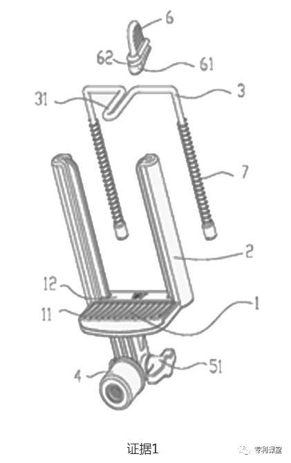
在其中一个无效宣告请求中,请求人使用发明名称为“一种手持式遥控拍摄装置的拍摄设备夹持装置”的实用新型专利作为证据(下称证据1),来评述权利要求2的创造性。请求人认为证据1公开了夹紧结构包括活动杆3,该活动杆3的两端可拉伸地设置于两支撑臂内,中部设有弯折结构31,且该弯折机构31位于载物台的上方,即证据1公开了在夹紧机构上设置折弯部的技术方案。通过对证据1公开内容的仔细分析不难发现,证据1中弯折结构的中部开口用于与提手上的凹槽卡接,将提手固定在活动杆的中部,以方便活动杆的上下移动,从而夹紧拍摄设备。这与涉案专利中的折弯部的功能和作用完全不同:涉案专利的折弯部具有一个U形开口,其与载物台上的缺口共同形成了容纳折叠后的伸缩杆的收纳空间,从而实现自拍杆的小型化和便携性。因此,虽然证据1中的弯折结构与涉案专利的折弯部在文字表述上相近,在结构上类似,但是证据1中的弯折结构是用于与提手耦合,在与提手固定连接以后,不再具有任何空间,不可能用于收纳。因此,不能认为证据1公开了涉案专利的折弯部,也没有给出将其用于收纳的技术启示。
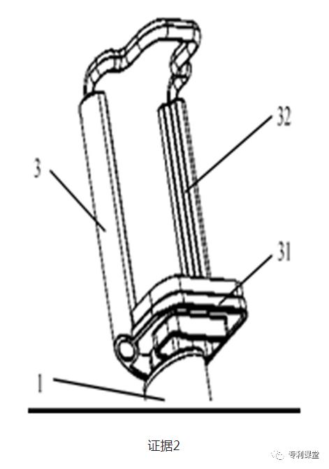
在另一个无效宣告请求中,请求人使用了一件名称为“一种手柄式的拍摄遥控装置”的实用新型专利作为证据(下称证据2),再次评述权利要求2的创造性。请求人认为证据2的附图5显示:固定架的端部设有一开口较大的折弯部,该折弯部即为涉案专利中所涉的折弯部。在专利申请文件中,附图是说明书的一个组成部分,其作用在于用图形补充说明说明书文字部分的描述,使人能够直观地、形象化地理解发明或实用新型的每个技术特征和整体技术方案。但是只有能够从附图中直接地、毫无疑义地确定的技术特征才属于公开的内容,从附图中推测的内容,不应当作为已公开的内容。证据2的附图5显示了手机固定架与遥控拍摄装置的连接示意图,其中手机固定架包括固定架和连接平台,固定架用于放置拍摄装置,连接平台用于与遥控拍摄手柄相连。附图5中确实显示了在固定架的中部设有一个与涉案专利结构相同的折弯部,但是证据2的说明书文字部分对该折弯部没有任何说明,而且根据对证据2全文的分析理解可以判断该折弯部不可能用于形成收纳空间,原因在于:证据2中的手机固定架通过第一连接部与遥控手柄相连,第一连接部为螺纹式连接头,通过螺纹连接的遥控手柄不可能折叠,证据2不需要解决自拍杆折叠过程中所出现的收纳空间问题,因此该折弯部的设置不可能是为了解决涉案专利所要解决的技术问题。因此,仅在证据2附图5图示结构的基础上,本领域技术人员不能直接地、毫无疑义地确定该图示结构特征能够实现与涉案专利中的折弯部整体上相同的作用,证据2并未公开权利要求2中的折弯部。总之,准确的事实认定是正确进行特征对比,进而作出客观审查结论的重要基础。对现有技术公开技术方案的事实认定,并不能简单地断章取义,而是应当站位本领域技术人员的角度,整体上考虑专利的技术方案与现有技术公开的内容,将技术方案的技术特征及其所起作用做整体考量,进而准确进行特征对比,以客观判断权利要求的创造性。也就是说,对于功能上彼此相互支持、存在相互作用关系的技术特征,应整体上考虑所述技术特征。专利权的保护范围应当与发明创造的技术贡献相匹配,如果保护范围过大,明显超出了发明创造的技术贡献,容易导致在无效宣告请求阶段因为权利要求不具备创造性而被宣告无效。就“一体式自拍装置”系列专利无效宣告请求案件而言,首先,独立权利要求1限定了一个较大的范围,在独立权利要求1中,前序部分限定了惯常自拍装置的特征,包括伸缩杆和夹持装置,夹持装置包括载物台及可拉伸夹紧机构,在特征部分对伸缩杆和夹持装置的连接关系进行了限定,即“夹持装置一体式转动连接于所述伸缩杆的顶端”,体现了与背景技术的区别,但是在无效宣告的审理过程中,由于覆盖了一个较大的保护范围,导致其被现有技术公开,因此被宣告无效。其次,在从属权利要求2中体现了涉案专利的主要创新点,即载物台上的缺口以及夹紧机构上与缺口对应的折弯部,二者形成容纳折叠后的伸缩杆的空间,使用后直接将伸缩杆收容于载物台的缺口及夹紧机构的折弯部,能够解决更好地收纳自拍杆、方便携带的技术问题。其余从属权利要求3-13都是直接或间接引用权利要求2,这样即便权利要求1由于保护范围过大被无效,在从属权利要求2维持有效的情况下,其他的从属权利要求3-13也能维持有效。综上所述,上文结合创造性判断中的事实认定问题,重点分析了“一体式自拍装置”系列无效宣告请求案件中,权利要求2被维持有效的原因,由于权利要求3-13直接或间接引用权利要求2,因此权利要求2-13均被宣告维持有效,这得益于涉案专利通过重点突出、层次清楚的专利布局,合理地确定了权利要求的保护范围。从专利布局来看,涉案专利是基于单个技术点构建权利要求的组合来有效保护创新技术,尽管只是单个技术点,但在进行专利布局时,权利要求的布置考虑到了主要创新点、必要技术特征、单一性等因素,考虑到分层保护原则,层层缩小权利要求的保护范围,布局思路清晰合理。