重磅!亚马逊品牌卖家超70万,进入“品牌出海”时代!
爆款侵权 丨作者 / 方小信
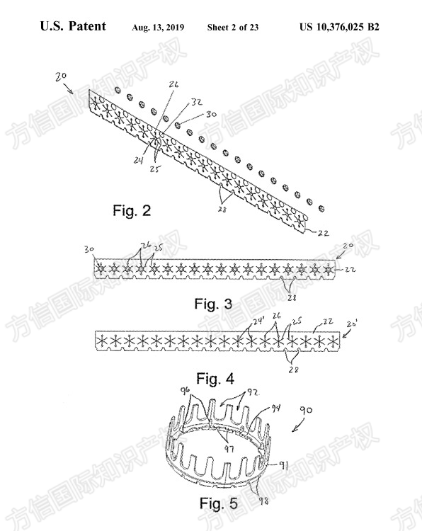
是什么新奇玩意儿让网友在评论区大呼回到 90 后儿童时代,表示种草的评论更是不计其数,甚至单条评论的获赞量都在 2w+ 以上。 当然就是最近火爆全网的“ blinger ”或“ hairgems ”(贴钻机)了。 截止目前,TIKTOK 上带“ #blinger ”的播放量已经达 69 M,带“ #hairgems ”的视频播放量达到 42 M。 小信查询发现,品牌方 GEMC2, LLC. 已经注册了“ blinger ”和“ hair blinger ”商标,注册类目主要是 3 类、24 类、8 类。 (blinger 品牌商标注册记录) (美国发明专利 US 10,376,025) (美国发明专利 US 10,376,025细节图) 贴钻机在外网极其火爆,网友购买意愿也很高,未来一段时间会有比较大的需求量。 贴钻机品牌“ blinger ”和“ hairgems ”都已经被各自的品牌方注册了商标,且保护类目众多。 其中“ blinger ”品牌拥有美国发明专利,而且有很多创新点。 贴钻机主要粘贴到头发上作为发型装饰,卖家可以参考头发编织器等美发类产品一起售卖。









我们建了一个亚马逊卖家交流群,里面不乏很多大卖家。
现在扫码回复“ 加群 ”,拉你进群。
热门文章
*30分钟更新一次







