海外返校季,亚马逊各站点爆款出炉!
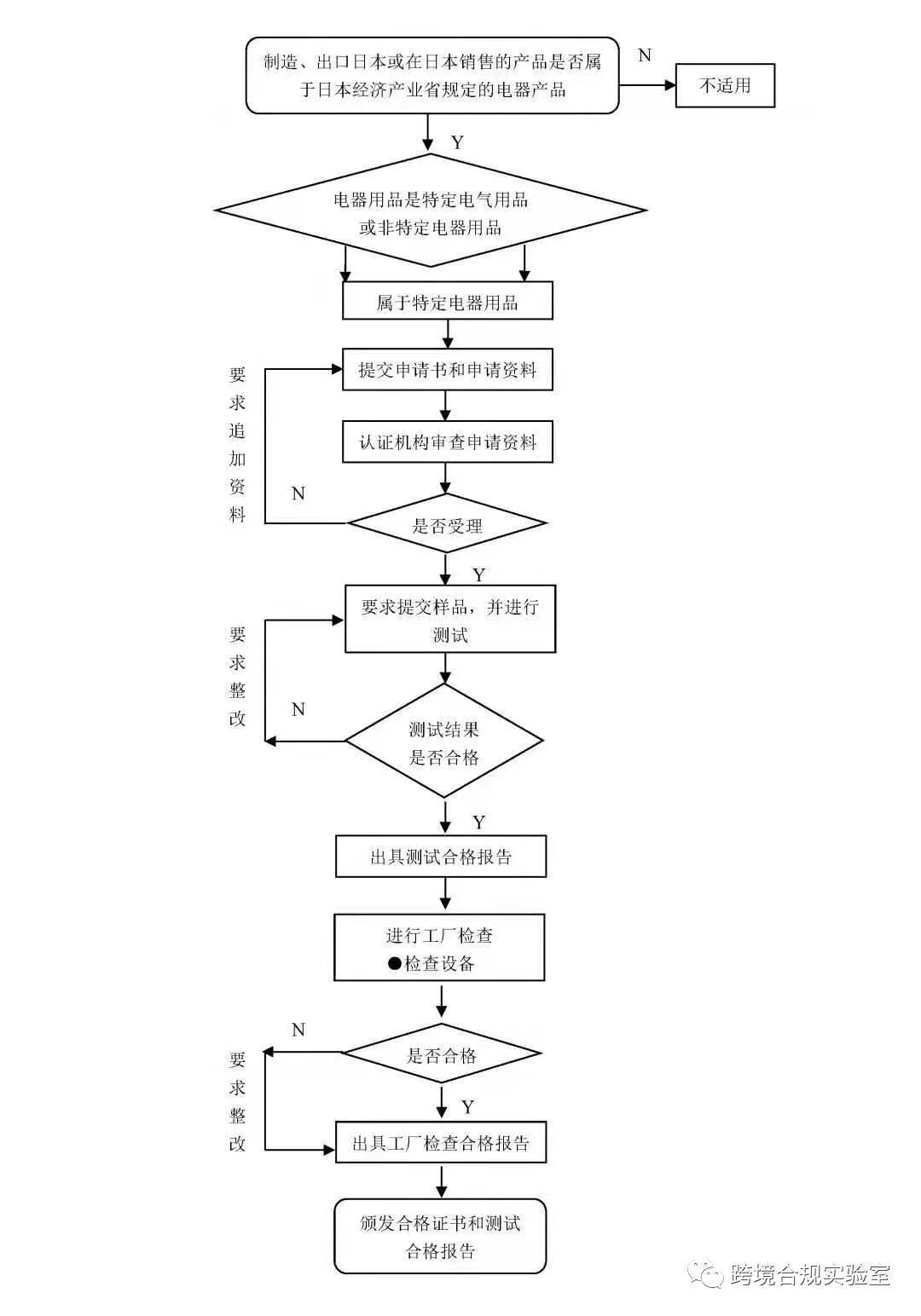
上篇文章主要介绍了 关于PSE认证的基本知识 今天我们来看一下 PSE认证的流程及相关知识 拿出小本本记一下吧~ 在颁发证书之前,将由检测机构对制造厂进行工厂审查。检测和工厂审查都满足要求后允许在电池充电器上使用PSE标志以及检测机构的标志。要求对生产的产品进行100%的检测,但是,不同的产品检测项目不同,通常是高压试验和保护接地连续性试验。 证书有效期为3年。 法规要求日本的采购商在购进商品后一个月内必须向日本METI注册申报,并必须将采购商名称或ID标在产品上,以便在今后产品销售过程中进行监督管理。 根据产品材料安全法,进口到日本的产品的安全责任全部由日本进口商承担,因此,进口商必须保存检测报告和验货记录。进口商也可以通过internet查看验货记录。 1.电器及材料安全法(Electrical Appliance and Material Safety Law) 2.电器及材料安全法-施行令(Enforcement Ordinance of Electrical Appliance and Material Safety Law) 3.电器及材料安全法-施行规则(Enforcement Regulations of Electrical Appliance and Material Safety Law) 4.电器分类注解(Explanation on Type Classification) 根据DENAN要求,通过PSE认证的产品必须满足相关安全技术基准的要求。日本的电气产品安全技术基准有两种: (1)日本技术基准1,指的是日本国内的技术标准,该标准与IEC标准技术要求差异较大,独成体系。 (2)日本技术基准2,是日本政府2002年颁布的与相关IEC标准协调一致的标准,但不是所有的电气产品均有对应的技术基准2标准。 制造商可选择按照技术基准1或技术基准2进行适合性检查,合格后均可加贴PSE标志。一般情况下,技术基准1和基准2不能混合使用。 PSE认证申请人可以是制造商或者进口商。 DENAN还要求有采购商名称或ID标注在产品上,以便在日后产品销售过程中对其监督管理。 进口到日本的产品,其安全责任全部由日本进口商承担,因此,进口商必须保存检测报告和验货记录,也可以通过电脑网络查看验货记录。


我们建了一个亚马逊卖家交流群,里面不乏很多大卖家。
现在扫码回复“ 加群 ”,拉你进群。
热门文章
*30分钟更新一次







