客户服务up +,疫情期间最佳聊聊回应范本
爆款侵权 丨作者 / 方小信
这是方信国际知识产权的第205篇原创文章
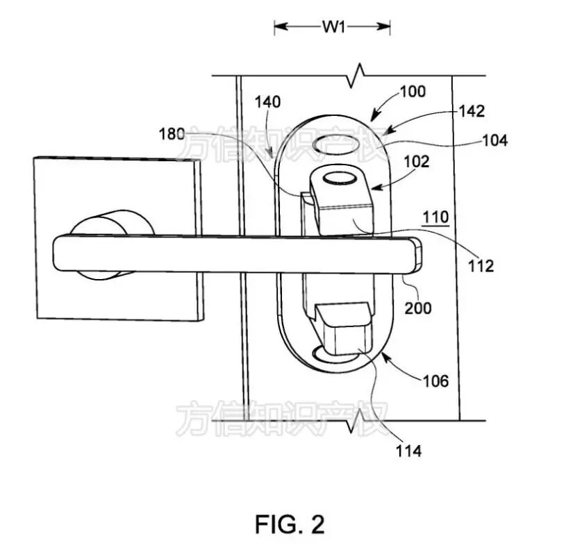
儿童安全问题应该是父母们心中的头号要事了,近期这款儿童安全锁凭借超高的销量和人气引起了小信的注意。 (亚马逊官网截图) 这款安全锁的品牌 TUUT 出自美国婴幼儿产品公司 LittleGiggles。根据查询,该公司的商标申请量并不多,主要商标只有美国商标 “ TUUT ” 和 “ LITTLEGIGGLES ” ,描述产品时需避免包括类似词汇。而像门把手安全锁的通用名称 “ DOORLEVER LOCK ” (门把手锁)则是可以使用的。 (TUUT美国商标) TUUT的产品目前仅有这款门安全锁,一鸣惊人的产品背后,LITTLEGIGGLES 又有怎样的秘诀呢? 对于这个安全锁,LITTLEGIGGLES 申请了美国发明专利 “ SYSTEMAND METHOD FOR PREVENTING MOVEMENT OF A DOORLEVER ”(用于防止门把手移动的系统和方法),专利号 US010221587 : (美国专利10221587) 这是一种防止杆沿上下方向移动的装置。包括两个可径向移动的凸起物,移动范围刚好可以控制门把手的运动幅度。同时两个凸起物上有相应按钮,以控制凸起物独立地移动。该装置具有许多用途,包括作为安全装置,以防止儿童或其他人移动门杆以打开门。 目前电商平台有许多类似产品,需要避免专利侵权! (疑似侵权产品) 写到这里,主要内容已经整理完毕,本来已经准备收尾,小信顺手点开上面这款产品的链接一看,糟糕!这款产品的版权侵权同样需要注意噢。 (TUUT亚马逊产品说明页面) (类似品牌产品说明页面) 版权侵权经常涉及产品说明的文案、产品宣传图、摄影作品、包装图设计等方面,对于以上截图示例的情况,如果未经正当授权,直接使用别人的链接的图片与文案,也会带来侵权风险! 回顾一下,销售儿童安全锁,为避免侵权需要注意以下 3 点: 避免直接使用知名品牌商标名,如本文介绍的 “ TUUT ” 、“ LITTLE GIGGLES ”,描述产品时,可以用通用名称 “ DOOR LEVER LOCK ” (门把手锁) 销售类似安全锁产品,要对比确认下是否涉及 LITTLE GIGGLES 专利的技术特征,避免专利侵权的风险 避免直接搬运未经授权的宣传图、宣传文案,有版权侵权风险







我们建了一个亚马逊卖家交流群,里面不乏很多大卖家。
现在扫码回复“ 加群 ”,拉你进群。
热门文章
*30分钟更新一次







