预警!欧洲大港举行罢工,港口拥堵、船舶延误继续!北美集装箱船停遍海面!
提起奥特曼,貌似根本不分年龄,而奥特曼卡牌,卡册等相关周边产品一直持续爆火。

2020年初起,张某某未经注册商标所有人许可,按每1万张650元的价格,委托罗某某在其经营的印刷厂印刷假冒“欧布奥特曼”“捷德奥特曼”“奥特英雄”等注册商标的卡牌,再由张某某的工厂裁剪、包装后出售。2020年12月,公安机关在张某某工厂查扣侵权产品400余万件,在罗某某工厂查扣侵权产品6万余件。
今年2月5日,上海市长宁区人民检察院以涉嫌假冒注册商标罪对犯罪嫌疑人罗某某、张某某依法批准逮捕。
作为知识产权人,第一反应就想搜索下“奥特曼”公司商标的注册保护情况:

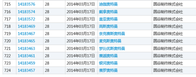
根据国家知识产权局商标局官网显示,目前奥特曼公司圆谷制作株式会社名下共申请有1269枚商标,各类型奥特曼、奥特曼各形态及各个怪兽名字都保护在列。

上述案件中,张某某,罗某某未经注册商标所有人许可,假冒“欧布奥特曼”“捷德奥特曼”“奥特英雄”等注册商标的行为明显属于侵权行为,他们必须为自己的行为承担法律后果。
那么,商标侵权行为具体指什么呢?
依据法律规定商标权人对自己的注册商标依法享有专有使用权,他人未经授权许可不得在相同或近似的商品或服务项目上使用与注册商标相同或近似的商标,否则就属于侵权行为。
现实生活中,当我们遇到上述侵权行为时该怎么做呢?
一、收集保存证据,必要时申请证据保全
法律讲究“以事实为根据”,当发现侵权行为时,首先要做的就是收集保存证据,将别人侵权的商品以拍照、摄像、实物购买等方式进行固定,必要时对证据进行公证或保全证据,同时要对对方的产品销售情况尽可能多的去了解调查并取证。
二、向对方发律师函
掌握证据后可以通过委托律师向对方发律师函的方式警告震慑对方,给对方一次改正的机会。如果对方的产品在电商平台销售,也可以通过电商平台举报来震慑对方。
三、和对方沟通协商解决。
法律规定侵犯注册商标专用权引起纠纷的,商标注册人或者利害关系人可以与侵权人自行协商解决,如果对方侵权不严重,又愿意沟通协商解决的,双方可以就侵权事实和侵权赔偿进行协商解决。
四、向工商行政部门投诉
工商行政部门有权监管商标,可以就侵权事件向工商行政部门进行投诉,需要注意的是法律规定商标注册人向工商行政管理部门投诉,请求保护其商标专用权的,应当递交书面投诉申请,同时附送其有效的证明材料,具体包括投诉书、商标注册证明以及双方商标实际使用图片。
五、向人民法院起诉,通过司法途径维护自己的合法权益。
依据法律规定 不愿协商解决或者协商不成的,可以直接向人民法院起诉。通过提起民事诉讼可以要求对方停止侵权行为并赔偿损失。
结语CONCLUSION
投稿邮箱:zxy_shigali@outlook.com
我们建了一个亚马逊卖家交流群,里面不乏很多大卖家。
现在扫码回复“ 加群 ”,拉你进群。
热门文章
*30分钟更新一次







