2021年消费类电子产品3大趋势
2020年,面对疫情的影响,很多卖家的销售业务遇到瓶颈,单量下滑严重、现金流难以支撑日常运营!好在的是,从下半年开始,海外消费者线上购物需求开始激增使得我国的跨境出口数据实现稳步增长。不少跨境卖家表示订单接到手软,产品供不应求。
不过,到了年终复盘时,一些卖家却发现,虽然订单看似在蹭蹭的往上涨,但实际利润并没有想象中那么好。甚至还有卖家吐槽:“卖了个寂寞”,不知道是哪个环节出了问题!
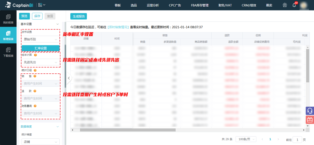
订单暴增100%,利润却“缩水”,是何因? 船长获悉,据央视财经频道《经济信息联播》近日对深圳的几家外贸企业采访的报道,人民币升值,汇率持续走高是订单暴增利润“缩水”的原因之一。 图源丨央视财经频道《经济信息联播》报道截图 船长了解到,目前美元汇率已经跨入6.4时代,有卖家因此亏损了十几万。打个比方,现在换10万美元比去年6月份就要亏上七八万,如果持续这样算下来,一年就要亏至少80多万,说不好听点,就相当于一套房的首付或一辆车的钱打水漂了。 图源丨央视财经频道《经济信息联播》报道截图 保利润,把控好浮动运营成本,是关键! 当然,除了汇率波动会直接影响到卖家的最终利润之外,利润是否核算到位、商品采购、商品价格、物流渠道选择、库存管理、广告投放以及人力资源等方面的运营费用同样是影响卖家利润的重要因素,如何把控好这些浮动成本是大家需要及时做好跟进的。 那么,有没有什么方法,或者有没有这样一款工具可以帮助卖家们快速汇总亚马逊各个运营环节的数据,并有针对性的去精准分析这些数据,及时调整好运营策略?例如,及时减少效益不好的商品投入,让ASIN利润收支明细做到心里有数。 答案是肯定的,有! 对于多店铺卖家而言,利润核算相对会比较麻烦,如果是人工从亚马逊卖家后台下载和整理报表,需要花费很长时间,数据也不够完整,错算和漏算情况极易发生。利润核算不准确,或可能导致资金流动不稳定,使得其他运营环节受阻,影响整体的业务发展。 首先,我们来看看受汇率影响 卖家们该如何应对? 1、重新确定订单价格 观察并测算2021年的汇率可能的波动情况,这是产品涨价幅度的重要依据,视情况进行适当的调整。 2、缩短订单报价的时效性 也就是缩短报价周期,以控制利润风险。可根据实际情况,从之前的1年缩短到半年或三个月,在客户下单后,缩短客户的交货周期,交货越早,收钱越早。 3、调整支付模式 用美元结算,例如给原材料供应商支付美元,避免换汇带来的损失。 其次,做好利润核算 避免不精准的计算给业务带来影响 为了辅助各位卖家解决亚马逊后台复杂报表下载、整理不便,以及运营数据分析等难题,船长在去年年末重磅上线了「数据方舟」工具,提供财务、运营、广告、库存等多维度报表。 重要的是,卖家可根据自身的需求,配置报表的基础设置(币别设置、统计口径和成本算法),选择分析的维度、周期及指标,并通过设置筛选条件得到自己想要的数据。 生成报表后可切换按指标或按时间的展示方式,对于需要的报表还可导出成Excel,进行更多更详细的分析。 让我们先通过一段小视频来了解下「数据方舟」具体能够帮助大家做什么: 通过「数据方舟」的自定义功能,你可以生成各种类型的报表,如:店铺销售分析、产品表现分析、ASIN解析、店铺利润月报及运营人员业绩报告等。 点击图片查看大图 例如,你要查看和分析2020年店铺的利润概况,可以选择相关的数据维度,创建该报表,系统会为你生成对应的数据详情。 点击图片查看大图 另外,在基本设置中,合理的选择成本计算和统计口径会有助于数据的分析。 如果进行财务利润分析,则三个统计口径都选为费用产生时间;如果进行运营销售分析;则销售可按照下单时间,退款与财务费用可按费用产生时间;而有开通船长ERP的卖家,在进行财务利润分析可以选择先进先出。 点击图片查看大图






我们建了一个亚马逊卖家交流群,里面不乏很多大卖家。
现在扫码回复“ 加群 ”,拉你进群。
热门文章
*30分钟更新一次







